板翻边构造

pcb板翻转机构设计,设计即简单又巧妙
图片尺寸1478x924
板翻边钢筋
图片尺寸704x523
方形简易气动翻板
图片尺寸820x461
板上翻边如何画
图片尺寸1340x835
pcb板翻板机,翻转机构图纸(step(stp)/sldprt/sldasm文件)
图片尺寸1081x607
老师,这个板翻边是指什么意思,这个板上部配筋和下部配筋是指底筋和
图片尺寸937x497
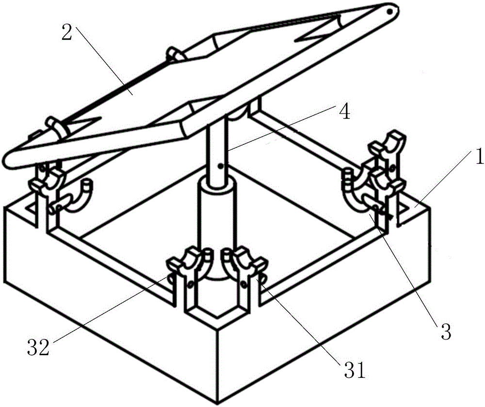
一种pcb板翻板机构的制作方法与工艺
图片尺寸1000x594
pcb板翻板机,翻转机构图纸(step(stp)/sldprt/sldasm文件)
图片尺寸716x572
pcb板翻板机翻转机构图纸
图片尺寸400x400
cn101927483a_一种气动翻板工作台
图片尺寸1666x997
一种带挡边的翻板机的制作方法
图片尺寸1000x944
翻板结构在成形模中的应用?
图片尺寸370x242
一种吸油烟机翻板机构制造技术
图片尺寸827x1000
屋面外隔墙翻边大样
图片尺寸519x402
翻板结构在成形模中的应用?
图片尺寸405x227
cn208743079u_翻板机构,机器人和装置
图片尺寸1000x840
带螺纹孔的内孔翻边结构示意图
图片尺寸491x390
一种联动翻板机构的制作方法
图片尺寸971x934
防水翻边
图片尺寸987x671
翻板结构在成形模中的应用
图片尺寸370x242