果园索道安装图

专业安装香蕉索道,有老板要安装的可以来电. 1679831
图片尺寸1440x1440
高科技水果缆车运输助力农民轻松收成
图片尺寸720x1280
摘要附图摘要本实用新型公开了一种山地用果园输运装置,包括索道输运
图片尺寸1669x1360
山地果园轨道运输车
图片尺寸1080x1920
双轨运输车 山地果园拉运货物车 安装简易
图片尺寸720x1280
山地果园茶园力单输轨道运轨道车多功能农rt
图片尺寸800x800
亮故事 | 轨道索道进果园,夏橙出山稳当当!
图片尺寸427x588
单轨运输机 汽油动力运输车 山地果园单轨货运索道高山运料单轨车
图片尺寸750x750
—看老牌化工企业如何"玩转"农业
图片尺寸640x464
货运索道设计施工方案
图片尺寸1704x1280
货运索道架设 不慌不忙,又一条马上结束
图片尺寸1808x3576
图片尺寸422x493
货运索道安装 #索道检修 专业的事交给专业的做
图片尺寸1080x1920
陕西专业机构货运索道安装 #货运索道安装专业机构 #索道运输
图片尺寸381x389
册亨糯米蕉丰收:金果累累幸福满满
图片尺寸800x562
南平货运索道制作施工 #货运索道安装 #索道安装 #货运索道
图片尺寸346x483
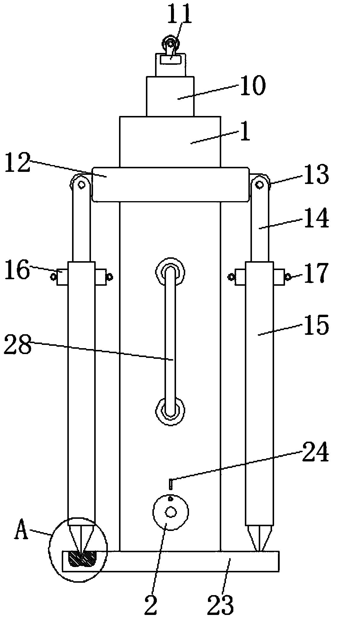
一种用于山地果园货运索道的支撑架组合
图片尺寸1141x2113
铜仁施工队货运索道运输 #货运索道专业机构 #索道安装机构
图片尺寸468x479
"以前人工运输很费劲,现在索道运输车可以解决山地运输难题,减
图片尺寸2048x1151
一种用于山区运送设备的快装索道
图片尺寸1821x1193