枪栓简易

简易栓动步枪枪栓制作
图片尺寸972x607
《枪栓》拼音/读音/英文/繁体
图片尺寸302x400
csgo与现实53真男人都爱拉大栓枪栓是怎么来的
图片尺寸767x322
栓动式步枪是如何工作的?
图片尺寸720x720
昨天升高了小切,差点出事?
图片尺寸381x252
像m24,awp那些非自动狙击步枪的枪栓是怎么拉的?
图片尺寸606x375
ak47枪栓在哪边
图片尺寸450x306
精确射击世界的入门级高性价比武器鲁格精密步枪
图片尺寸1250x643
g36的枪栓在什么位置怎样上膛啊
图片尺寸1200x1200
你们最喜欢的栓动式步枪是哪一款?
图片尺寸708x936
手工的枪栓
图片尺寸640x853
看着这个不锈钢制的精致枪栓,不禁感叹tmd真好
图片尺寸4032x3024![[原创]我的猎杀《利器》](https://i.ecywang.com/upload/1/img0.baidu.com/it/u=1582831426,2125117967&fm=253&fmt=auto&app=138&f=JPEG?w=800&h=467)
[原创]我的猎杀《利器》
图片尺寸800x467
义大利1880年出厂的维特立m1870/87/16步枪
图片尺寸640x480
枪管和枪栓是一体的吗
图片尺寸400x300
这是枪栓的两条滑轨
图片尺寸550x450
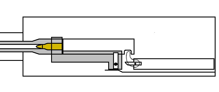
枪中的枪栓止动缓冲装置的制作方法
图片尺寸416x1000
枪栓往后拉,击针挂在阻铁上,然后枪栓向前把子弹推进弹膛,扣动扳机
图片尺寸453x430
精确射击世界的入门级高性价比武器鲁格精密步枪
图片尺寸1280x816
萨杰恩步枪的心脏:枪栓与瞄具
图片尺寸500x473