栓钉弯曲试验

钢结构焊钉弯曲试验报告 (共1页,当前第1页) 你可能喜欢 栓钉焊接工艺
图片尺寸673x869
栓钉应无皱纹,毛刺,开裂,歪扭,弯曲等缺陷,但栓钉头部径向裂纹不超过
图片尺寸3984x2656
对四层楼承板栓钉进行敲击弯曲检查
图片尺寸1080x1440
圆柱头焊钉拉伸弯曲夹具 栓钉弯曲装置 拉力试验机夹具
图片尺寸1280x720
栓钉焊机arc5000i
图片尺寸1000x750
栓钉焊接施工
图片尺寸560x464
栓钉
图片尺寸268x268
供应剪力钉,栓钉,圆柱头焊钉,福建焊钉批发,福建福州厦门龙岩长汀漳州
图片尺寸1440x1080
栓钉焊试样弯曲试验专业工装
图片尺寸918x1000
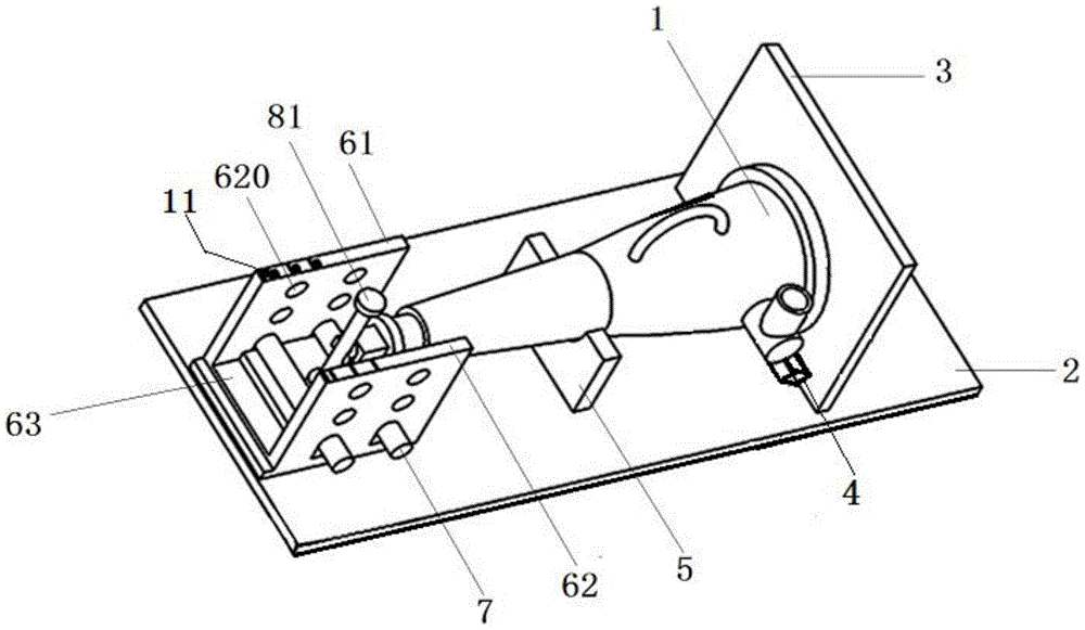
一种栓钉焊试样弯曲试验装置
图片尺寸1000x581
生产高强度圆柱头gbt10433焊钉楼承板用栓钉河北省邯郸市欢迎订加盟
图片尺寸1447x1920
栓钉焊试样弯曲试验专业工装制造技术
图片尺寸914x1000
钢结构工程中栓钉焊接质量不符合要求怎么办
图片尺寸640x403
沧州博宽 钢筋反向弯曲装置 新标准正反向弯曲试验夹具数显
图片尺寸1440x1080
进行弯曲检查,焊缝处无断裂视为合格,如焊缝出现裂缝,该栓钉判为报废
图片尺寸303x227
栓钉焊焊接工艺评定试样检验结果gd2301071-9
图片尺寸721x989
特征,使得桥面板具有优异的结构性能,足尺模型静力试验结果表明(图12)
图片尺寸640x337
问题3:钢梁上搭接长度不符合要求问题4:收边板安装不顺直问题5:栓钉
图片尺寸657x581
> 10栓钉焊焊接工艺评定试样检验结果gd2301103检验结果 弯曲试验 试
图片尺寸702x1022
现场锚栓抗剪试验装置
图片尺寸450x600