校平机工作原理

一种钢板校平机的制作方法
图片尺寸1000x795
一种精密网板校平机-爱企查
图片尺寸2205x1895
整平机的制作方法
图片尺寸805x1000
cn202387782u_一种校平机失效
图片尺寸1961x1344
同时克服了高强度钢板喂料难的缺点;校平机,包括机架部分,工作辊部分
图片尺寸2672x1562
平地机的结构及工作原理是怎样的
图片尺寸600x453
薄板校平机
图片尺寸1820x1573
精密薄板片材整平机
图片尺寸670x704
辊式板料校平机的传动方式
图片尺寸1517x2144
校平机的工作原理有哪些
图片尺寸1080x1920
cn207076793u_一种新型板材校平机有效
图片尺寸1407x1274
cn209531753u_一种钢板校平机
图片尺寸1000x793
一种新型上辊掀开式整平机的制作方法
图片尺寸937x1000
一种整平机
图片尺寸1628x1617
整平机整平原理
图片尺寸690x368
卷料设备固定并持续供给材料,卷料设备与所述送料矫平机联动工作,送料
图片尺寸1412x872
文档下载 所有分类 工程科技 交通运输 > 可调辊数校平机了摘要据工作
图片尺寸1648x2255
快速换辊校平机的制作方法
图片尺寸1000x785
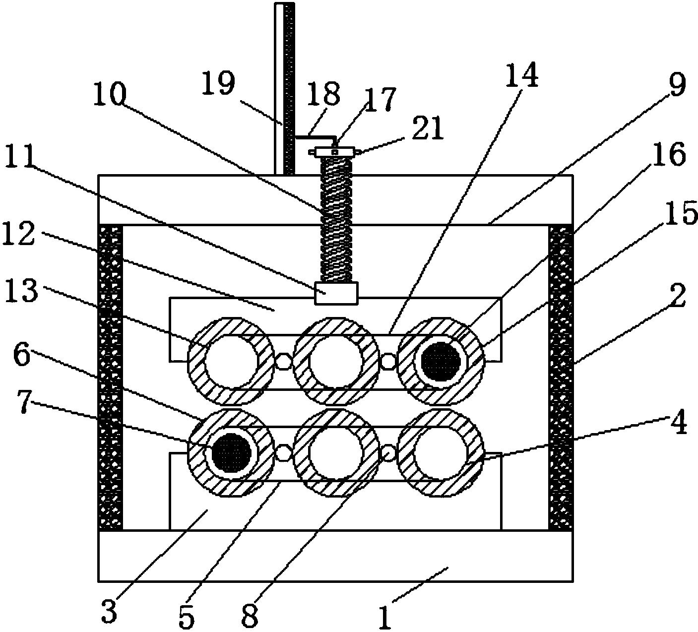
一种六重辊式校平机的制作方法
图片尺寸1000x706
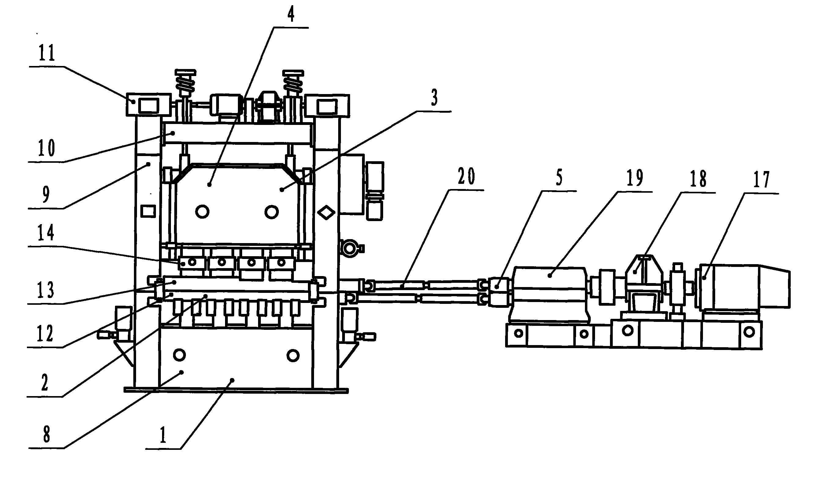
4-16×2200矫平机装配图_cad图纸/二维图纸下载
图片尺寸1315x655