核反应堆怎么画

小小美术家眼中的核工业梵高撞费米主题画展作品选登一
图片尺寸1080x753
核反应堆
图片尺寸1080x1236
核反应堆的简笔画
图片尺寸500x937
核反应堆模型的制作方法
图片尺寸368x443
核反应堆挂图:图文并茂,教你如何设计一个核反应堆
图片尺寸640x390
核反应堆工作示意图
图片尺寸1200x780
核反应堆的矢量图像
图片尺寸265x287
小小美术家眼中的核工业 梵高撞费米 主题画展作品选登(二)
图片尺寸1080x748
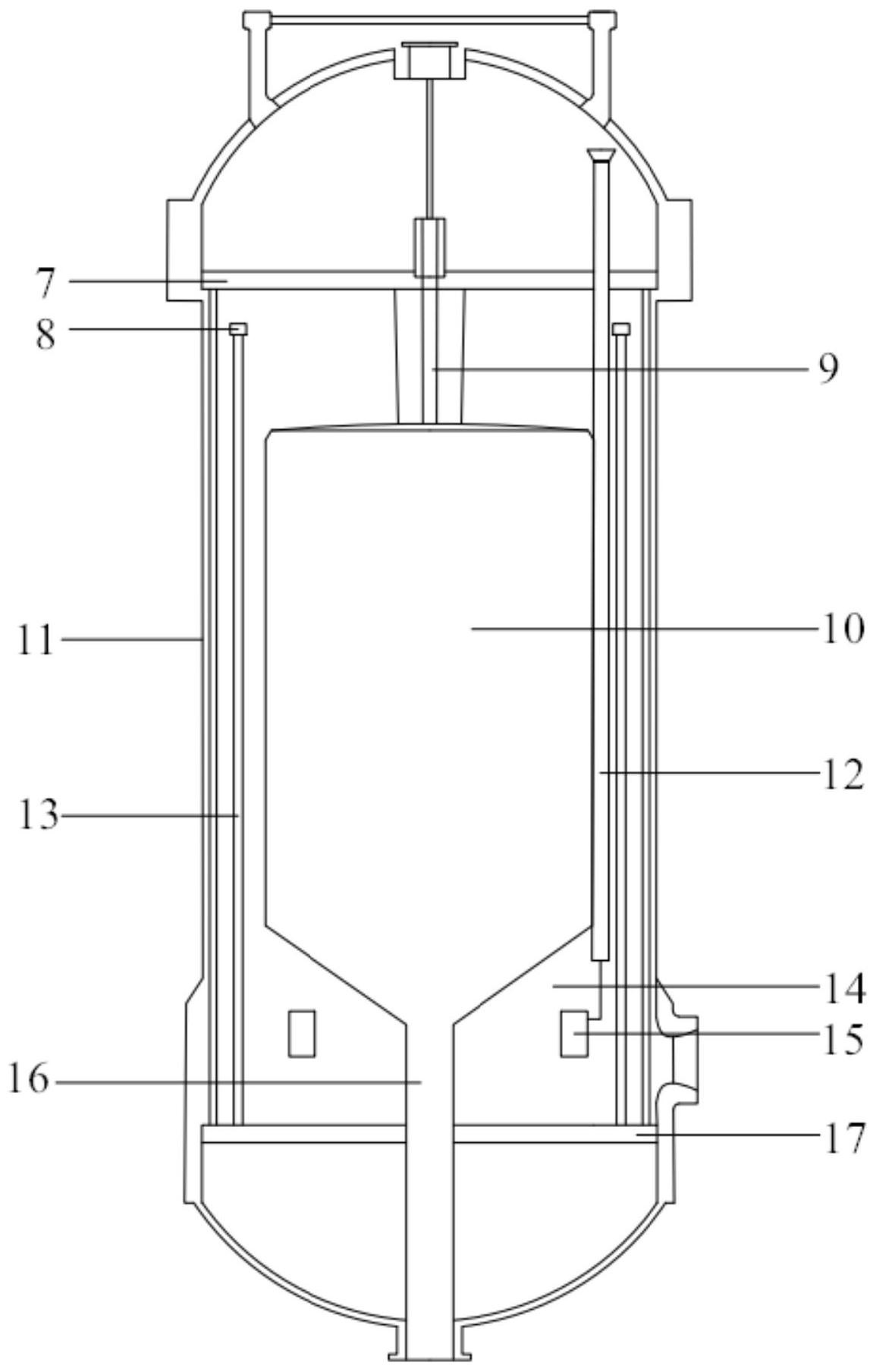
一种多模式运行的紧凑型核反应堆
图片尺寸1242x1232
(核电主题绘画项目三等奖)姓名:黄安淇学校:台山碧桂园学校作品创意
图片尺寸1080x1580
钢铁侠核反应堆变化
图片尺寸1080x1080
安全绿色核电01作品展示现精选核安全文化主题相关绘画作为第一期作品
图片尺寸1080x748
核史丨花了43年才建成的反应堆 远不是最糟糕的
图片尺寸910x992
核电厂-核反应堆建筑师蓝图-孤立
图片尺寸1200x895
彩色图像解释核反应堆矢量的阶段
图片尺寸800x534
十几岁少年竟然把核反应堆造出来了,看来世界真的属于90后!
图片尺寸669x673
一种关于核电站反应堆安全的科普教具和科普方法技术
图片尺寸811x923
小小美术家眼中的核工业梵高撞费米主题画展作品选登一
图片尺寸1080x810
洛克希德-马丁公司"臭鼬"工厂新近获得一项紧凑型核聚变反应堆设计
图片尺寸892x732
cn112366008a_一种用于移动式装置动力设备的核反应堆
图片尺寸1155x1809