核桃夹简笔画

cn201171626y_带有勾形头,圈簧,皮扣的核桃夹失效
图片尺寸1400x2273
核桃夹(89201)-爱企查
图片尺寸856x1564
cn212261205u_一种新型核桃夹子有效
图片尺寸430x709
胡桃夹子玩具设计插画-正版商用图片14qmih-摄图新视界
图片尺寸700x700
一种省力多用核桃干果夹的制作方法
图片尺寸470x1000
夹照片的夹子简笔画
图片尺寸539x500
胡桃夹子简笔画怎么画胡桃夹子简笔画画法
图片尺寸800x450
夹子简笔画
图片尺寸200x134
夹子简笔画可爱
图片尺寸382x396
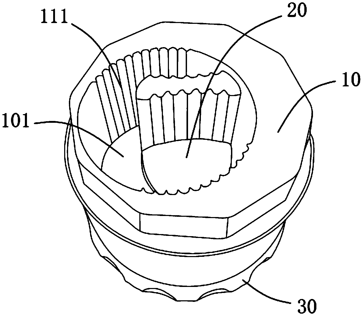
新型核桃夹
图片尺寸1386x1207
新型核桃夹的制作方法
图片尺寸1000x871
夹子简笔画
图片尺寸200x134
枣夹核桃简笔画画法
图片尺寸900x600
夹子简笔画图片大全教程
图片尺寸540x360
bu-30c
图片尺寸350x350
胡桃夹子简笔画怎么画胡桃夹子简笔画画法
图片尺寸800x450
夹子的形状和简笔画图片
图片尺寸450x325
长尾夹简笔画怎么画?简单的长尾夹的画法
图片尺寸450x450
cn202375938u_一种核桃夹失效
图片尺寸472x216
图片信息
图片尺寸670x670