核桃钳简笔画

多功能核桃钳子
图片尺寸562x1151
核桃钳简笔画
图片尺寸244x500
钳子工具孤立图标
图片尺寸790x1200
钳子是把物体牢牢握住的手工工具插画-正版商用图片13rp9y-摄图新视界
图片尺寸700x737
钳轮廓图标
图片尺寸800x800
钳轮廓图标
图片尺寸800x800
钳子图标说明插画-正版商用图片1ri9s4-摄图新视界
图片尺寸700x700
钳子手工具孤立在白色背景上.矢量图
图片尺寸1100x1100
钳图标
图片尺寸512x512
钳子图标轮廓样式
图片尺寸621x1200
一种三柄核桃钳子的制作方法
图片尺寸335x455
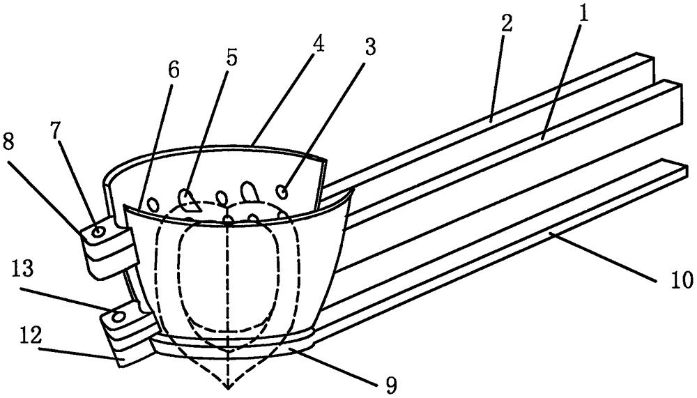
cn110754968a_一种三柄核桃钳子在审
图片尺寸1000x571
钳子
图片尺寸256x256
下压式核桃钳
图片尺寸1345x966
一种多功能核桃钳的制造方法与工艺
图片尺寸1000x507
线图标,钢丝钳,符号,图像,建筑业
图片尺寸1100x1100
一种核桃钳子的制作方法
图片尺寸492x667
一种多功能核桃钳制造技术
图片尺寸1000x659
大钳子的简笔画怎么画钳子简笔画图片核桃钳简笔画
图片尺寸184x218
钳子
图片尺寸256x256