格栅怎么画

屏障轮廓图标图片-屏障轮廓图标素材-屏障轮廓图标插画-摄图新视界
图片尺寸377x300
一个不同的围栏集合图标黑色, 单色风格矢量符号股票插画网站
图片尺寸700x700
关键词:矢量ai卡通线条手绘插插画白色栅栏围栏图精灵为您提供白色
图片尺寸800x356
栅栏简笔画简单容易
图片尺寸900x600
围栏画画简笔画
图片尺寸750x500
升旗台的栅栏简笔画
图片尺寸750x500
一种防火格栅的制作方法
图片尺寸443x374
5d渐变蓝色防护栏手绘栏杆栅栏元素01852栅栏栏杆网子手绘插画psd
图片尺寸324x324
怎么画栅栏简笔画
图片尺寸1600x899
手绘栅栏
图片尺寸564x548
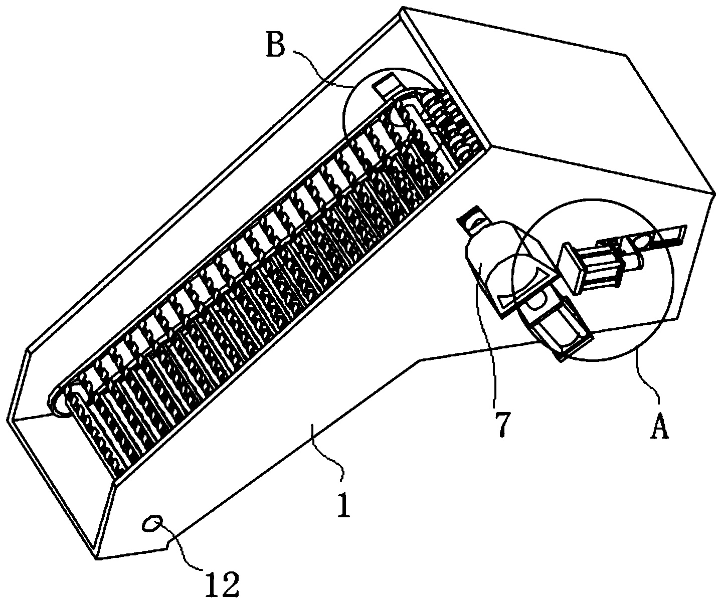
一种可调式机械格栅-爱企查
图片尺寸1442x1205
儿童简笔画动画 彩色栅栏
图片尺寸640x360
怎么画栅栏简笔画
图片尺寸1600x899
栅栏简笔画
图片尺寸900x600
铁丝栅栏矢量
图片尺寸610x478
金属栅栏图标概述金属篱芭在白色背景网络设计的传染媒
图片尺寸1024x1024
格栅木栅栏图标卡通风格
图片尺寸1200x987
一种带引导约束装置的内进流网板格栅
图片尺寸1803x2404
cn203564958u_一种烟气脱硝喷氨格栅有效
图片尺寸1000x961
平板格栅
图片尺寸724x511