桌面清洁器手绘

儿童画清洁工具
图片尺寸1080x758
清洁工具
图片尺寸1080x764
属于桌面清洁用品技术领域
图片尺寸1633x1070
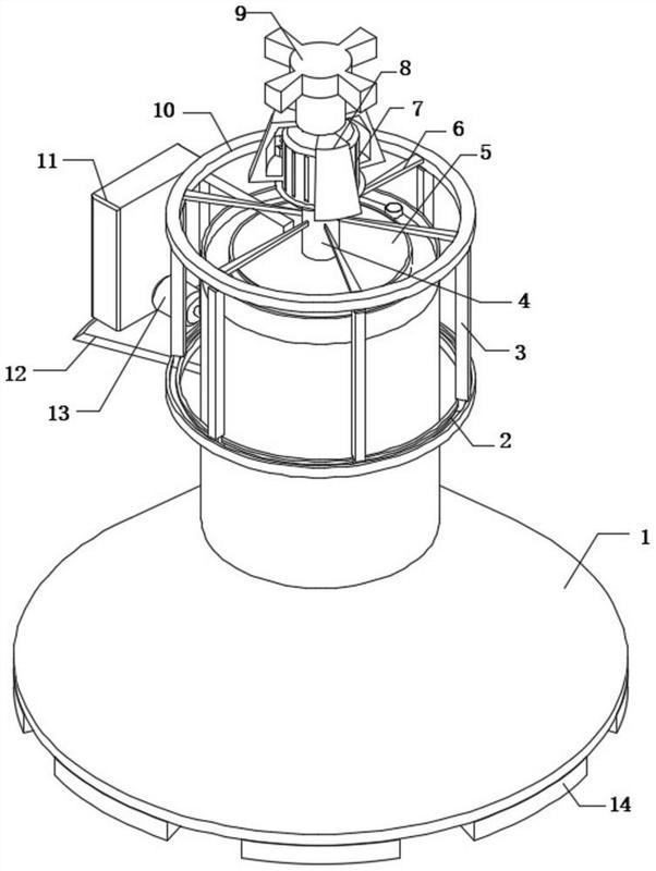
一种设有杀菌装置的扫地机器人
图片尺寸1606x1005
7款家庭清洁工具设计矢量素材
图片尺寸800x800
手绘洁具系列
图片尺寸523x636
【古代餐具手绘】图片免费下载_古代餐具手绘素材_古代餐具手绘模板
图片尺寸320x320
手绘洁具系列
图片尺寸519x726
手绘洁具50之046-050.jpg
图片尺寸557x800
一种桌面清洁器的制作方法
图片尺寸1000x706
手绘卡通集合的房子清洁的东西.涂鸦画照片
图片尺寸300x300
洗碗机孤立的白色背景.矢量插图的草图风格.
图片尺寸1100x1100
一种办公室用桌面清洁装置-爱企查
图片尺寸602x800
手绘清洁工具
图片尺寸650x1084
桌面清洁器(rc3000)-爱企查
图片尺寸436x512
清洁设备照片
图片尺寸267x300
清洁用具,清洁用品,静物.平面设计的清洗设备.插图.
图片尺寸1100x1100
一种桌面吸尘器的制作方法
图片尺寸1000x764
吸尘器
图片尺寸611x1000
矢量手绘家庭清洁吸尘器
图片尺寸610x623