桥墩设计图

一种预制混泥土组合式桥墩
图片尺寸373x444
一种超高性能混凝土浇筑的桥墩的制作方法
图片尺寸443x427
桥墩一般构造图
图片尺寸1920x1080
桥墩设计终极解读,独当一面的设计师必懂!
图片尺寸607x484
桥墩设计终极解读,独当一面的设计师必懂!
图片尺寸551x463
【科普百科】桥墩设计终极解读,独当一面的设计师必懂!
图片尺寸455x720
大桥桥墩钢筋cad设计图纸5
图片尺寸700x512
桥墩构造图.jpg
图片尺寸795x567
通桥20174301Ⅰ双线圆端形实体桥墩pdf26页
图片尺寸1585x1102
国道改建桥墩墩柱系梁专项施工方案2019
图片尺寸729x601
一种储力式的反顶双肢竖拱大悬臂桥墩结构及施工工艺
图片尺寸1623x999
2,桥墩图
图片尺寸760x570
桥墩一般构造图1
图片尺寸1920x1080
预应力混凝土连续箱梁高架桥桥墩一般构造节点详图设计
图片尺寸560x394
广州从化大桥工程桥墩景观及结构设计
图片尺寸935x993
通桥20174301Ⅰ双线圆端形实体桥墩pdf26页
图片尺寸1586x1102
实体式(重力式)桥墩
图片尺寸760x523
一份跨江特大桥桥墩设计cad施工方案图纸
图片尺寸600x600
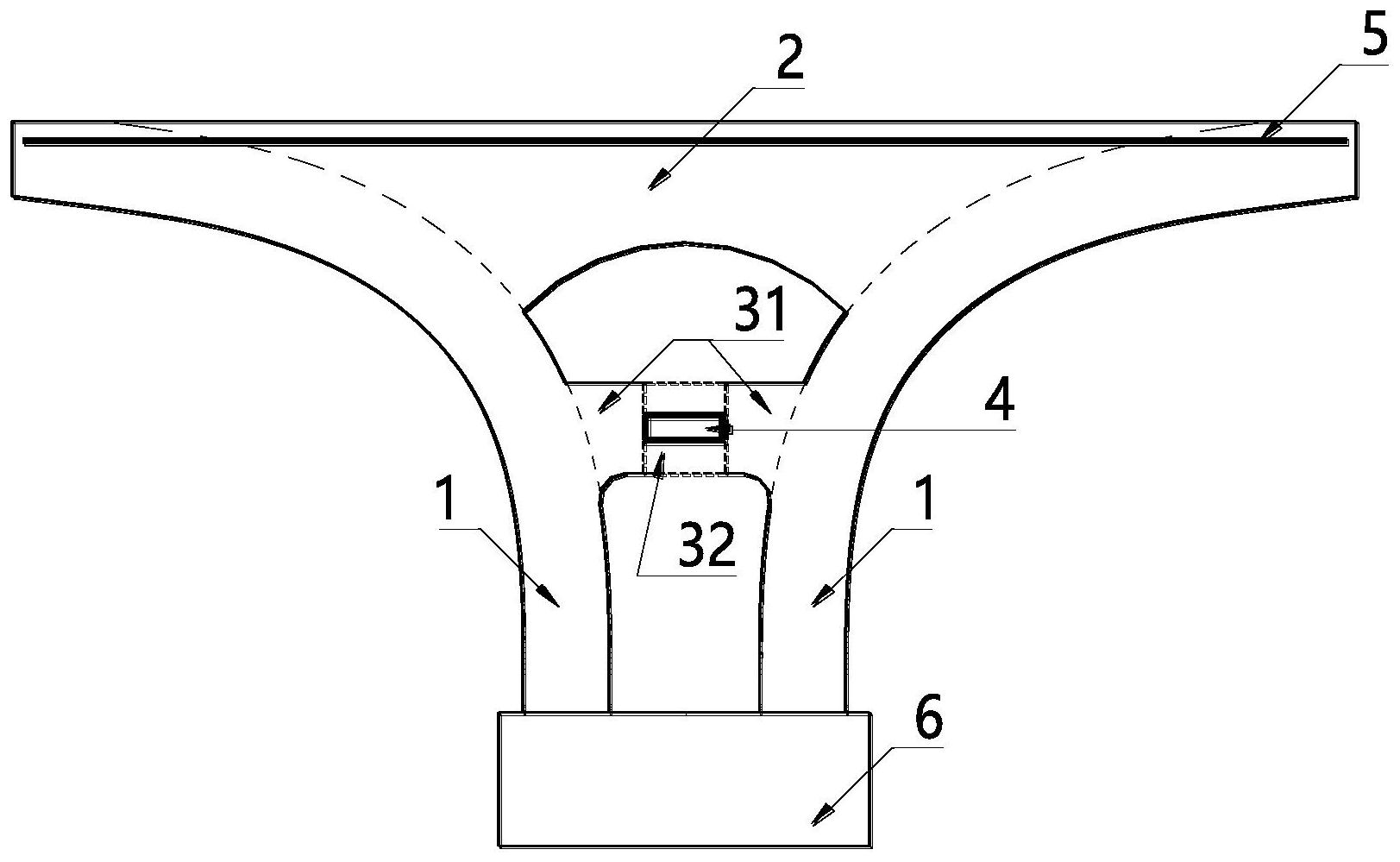
一种桥墩
图片尺寸1000x959
cn108103927a_震后功能可恢复的全预制拼装双层框架桥墩结构体系有效
图片尺寸1711x2439