桥梁横隔梁示意图

横隔梁(板)
图片尺寸1080x810
横隔梁是怎么看的啊?
图片尺寸575x553
哪位大神知道t形梁横隔梁的中梁和边梁指的是具体哪一块区域啊?
图片尺寸1260x462
网站首页 海量文档 建筑/施工 公路/桥梁第十讲_主梁内力,横隔梁内力
图片尺寸1152x864
城市桥梁工程-详细内容-黄兵的个人博客
图片尺寸960x720
桥梁结构见图,阴影部分叫什么,什么作用
图片尺寸442x302
桥梁构造与识图(工程人员必看)ppt
图片尺寸1080x810
t梁横断面图横隔梁断面图.dwg缩略图
图片尺寸806x594
桥梁工程第二篇5-1ppt
图片尺寸1080x810
a3-桥梁横断面
图片尺寸818x579
钢筋混凝土箱型梁桥横梁计算方法研究
图片尺寸1795x717![[北京]高速公路桥梁湿接缝横隔梁技术交底](https://i.ecywang.com/upload/1/img0.baidu.com/it/u=2507712613,3774610526&fm=253&fmt=auto&app=138&f=PNG?w=500&h=374)
[北京]高速公路桥梁湿接缝横隔梁技术交底
图片尺寸760x568
北京交通大学桥梁工程教案第五章_混凝土简支梁桥_第三节ppt
图片尺寸1080x810
2015一建-市政公用实务-精讲班-第17讲:1k412010城市桥梁结构形式及
图片尺寸899x615
连续梁桥钢构桥斜拉桥的演示_ppt
图片尺寸1080x810
m;跨径 ( )m; 桥面宽度 ( )m; 有 ( ) 片横隔梁;主梁高度 ( )m; 主梁
图片尺寸554x425
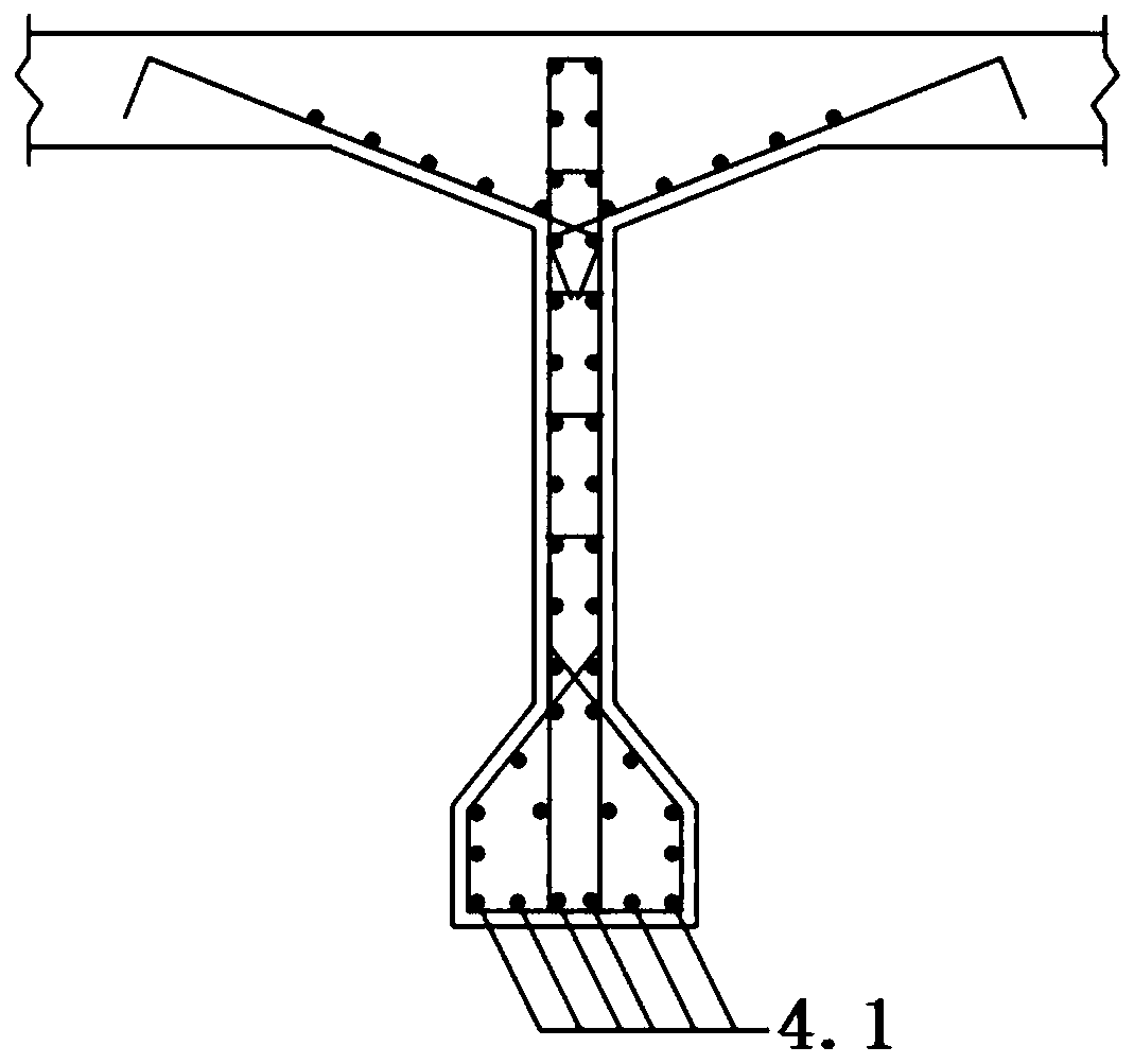
一种马蹄形的横隔梁
图片尺寸1069x1003
弹性方法计算连续梁板内力步步解析桥梁设计计算不可错过的一篇技术
图片尺寸720x535
横隔梁内力计算算例
图片尺寸959x1356![[讲义总结]桥梁工程讲义1028页ppt(知名教授)](https://i.ecywang.com/upload/1/img0.baidu.com/it/u=382244514,73466750&fm=253&fmt=auto&app=138&f=JPEG?w=560&h=345)
[讲义总结]桥梁工程讲义1028页ppt(知名教授)
图片尺寸560x345