桩位偏移图怎么画

桩基础桩位偏移,求处理方案.急!急!急!
图片尺寸1083x690
快速编制桩位偏差竣工图桩位偏移竣工图
图片尺寸549x473
快速编制桩位偏差竣工图桩位偏移竣工图
图片尺寸613x526
如图1是桩基偏位图 红色为设计 黄色为偏位图 请问编桩基竣工图怎么弄
图片尺寸682x616
桩位偏差图怎么画
图片尺寸500x297
斜了!管桩不合格怎么办?
图片尺寸518x243
各位大神,桩的这个标注信息代表什么意思?
图片尺寸472x623
cad怎么画桩基础桩位偏移图?
图片尺寸1165x691
桩基础的设计计算
图片尺寸780x963
一种水平位移边桩
图片尺寸1703x1027
桥梁桩基偏位分析及处理方案探讨
图片尺寸829x376
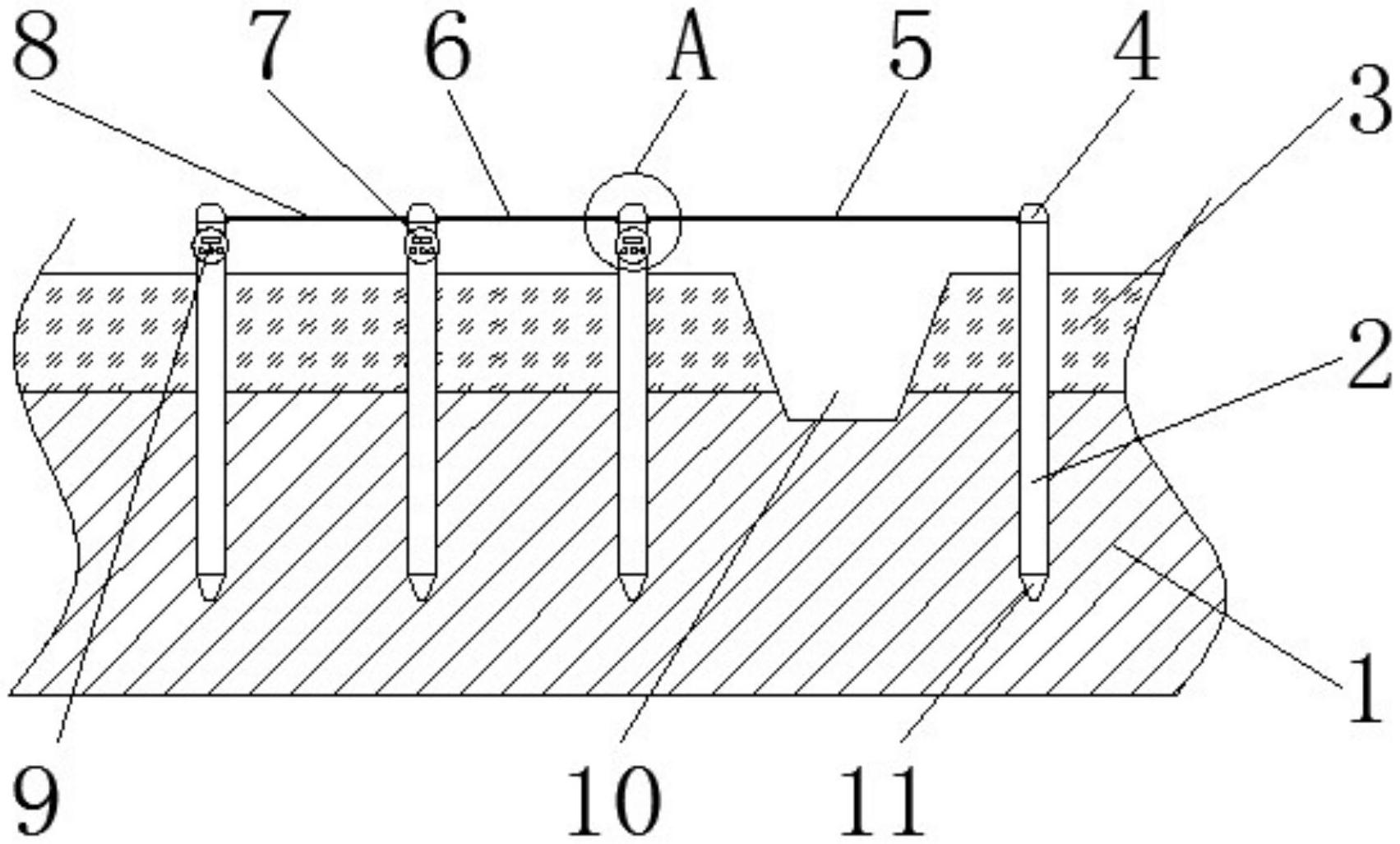
桩基位置偏移测量装置的制作方法
图片尺寸1000x984
桩位偏差图怎么画
图片尺寸500x286
【请教】这样的桩偏位如何处理?跪求高手支招
图片尺寸602x438
就是偏移中心小白点的尺寸数据.
图片尺寸532x360
求cad自动生成桩位偏差程序
图片尺寸1363x737
一种桩位偏差控制装置
图片尺寸1464x1039
请问工程上桩身的垂直度偏差,怎么计算? 图片中的计算对吗?
图片尺寸716x496
桩顶水平位移监测工作基点
图片尺寸700x467
一种解决桩基在下压过程中管桩偏移的施工方法技术
图片尺寸1000x746