梁模板加固方法

抱箍法技术在房建工程矩形梁模板施工中的应用
图片尺寸693x306
建筑施工优秀工艺做法梁模板加固
图片尺寸2209x3123
梁模板角部采用双方木加固.png
图片尺寸697x502
剪力墙,楼板,梁模板施工标准做法,非常实用!
图片尺寸640x527
墙柱,梁交接部位加固.png
图片尺寸760x392
梁模板加固夹具
图片尺寸523x577
大于500的梁用拉杆加固!
图片尺寸2000x2667
重磅ydx梁连柱模板支撑加固新技术请收藏
图片尺寸550x733
剪力墙,梁,板模板标准化做法
图片尺寸800x1132
住宅楼梁模板加固大样图
图片尺寸560x315
梁断面大于500时采用木制夹具加固.
图片尺寸867x633
梁墙加固做法
图片尺寸560x410
梁增大截面加固施工方案
图片尺寸440x485
关于模板支撑系统梁底加固方式的探讨
图片尺寸512x385
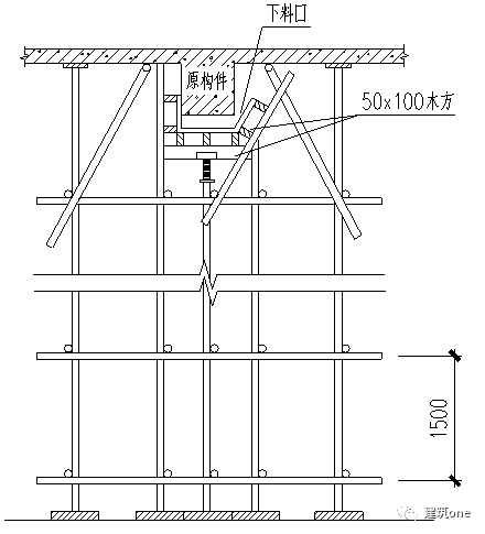
梁腹板高度小于450 的梁采用 u 型方木箍进行加固,间距不得大于600
图片尺寸640x566
工人在加固地梁模板
图片尺寸3264x2448
模板自从这样支模,不仅效率提高4~5倍,甚至没有爆过模!_加固
图片尺寸429x768
重磅ydx梁连柱模板支撑加固新技术请收藏
图片尺寸550x733
(7)临边梁墙侧模上口防侧移加固:对梁墙外模板使用螺杆加固,提升梁墙
图片尺寸308x274
模板工程标准化管理作业指导书,详细施工过程做法照片!_加固
图片尺寸640x310