梁胎架设计图

一种钢梁拼接胎架的制作方法
图片尺寸345x444
一种预制箱梁钢筋绑扎用胎架的制作方法
图片尺寸555x462
一种大跨径钢箱梁拼装胎架的制作方法
图片尺寸443x433
胎架立面布置示意图
图片尺寸560x303
一种大跨径钢箱梁拼装胎架的制作方法
图片尺寸444x437
一种新型胎架的制作方法
图片尺寸361x444
一种带移动绑扎装置的箱梁顶板钢筋胎架的制作方法
图片尺寸444x283
一种矮t梁标准胎架装置的制作方法
图片尺寸1000x797
一种预制箱梁胎架的制作方法
图片尺寸877x1000
一种可滑动的预制t梁梁肋钢筋定位胎架的制作方法
图片尺寸444x311
一种预制箱梁胎架的制作方法
图片尺寸443x272
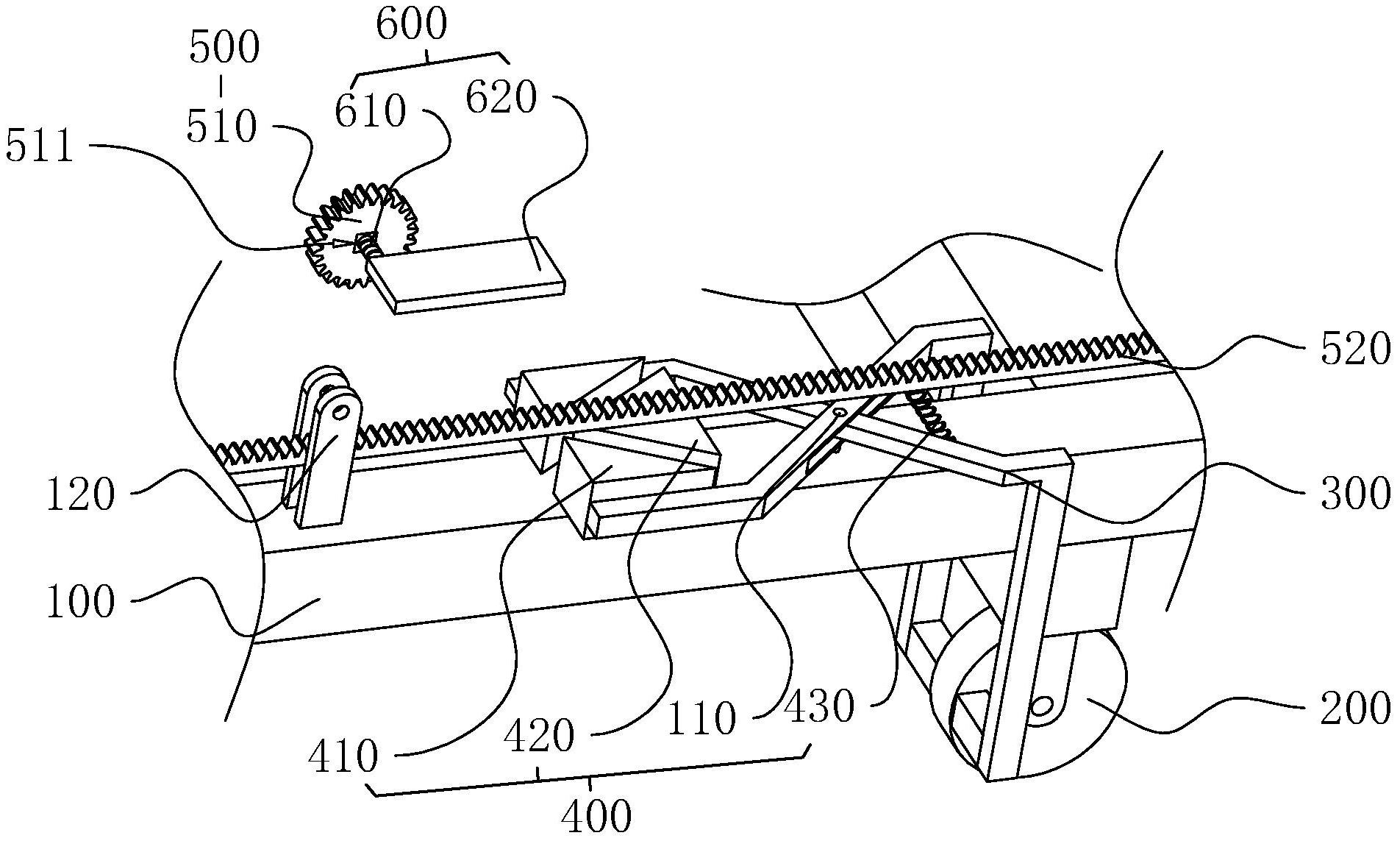
一种异形盖梁钢筋加工胎架
图片尺寸1965x1741
一种预制箱梁胎架的制作方法
图片尺寸1000x755
一种预制t梁梁肋钢筋绑扎用定位胎架
图片尺寸1904x1143
一种预制箱梁钢筋骨架定位胎架制造技术
图片尺寸1000x969
cn204076498u_一种预制t梁梁肋钢筋绑扎定位胎架失效
图片尺寸741x1000
一种预制箱梁胎架的制作方法
图片尺寸1000x868
胎架组拼底座包括底座横梁,底座纵梁,支撑胎架标准节包括有胎架立柱
图片尺寸800x544
一种建筑施工用可拆卸式钢结构胎架-爱企查
图片尺寸519x799
t梁钢筋绑扎组合胎架
图片尺寸1000x553