梳式防波堤

23亿元,该岛堤位于大窑湾海域内,在南,北防波堤之间,长643.
图片尺寸1080x608
防波堤
图片尺寸670x446
码头能抵抗50年一遇的台风,防波堤长度1124米·青岛vr青岛青岛这里曾
图片尺寸1920x1080
防波堤布置形式有哪些
图片尺寸400x300
防波堤
图片尺寸1080x810
温州(洞头)中心渔港防波堤工程
图片尺寸800x600
斜坡式防波堤的缺点是什么
图片尺寸400x300
巴基斯坦集装箱深水港防波堤工程
图片尺寸744x496
防波堤
图片尺寸232x152
马来西亚关丹防波堤修复工程主体完工
图片尺寸600x338
防波堤
图片尺寸298x231
海岸工程11防波堤工程ppt(93页)
图片尺寸760x488
连云港港徐圩港区东防波堤通过交工验收
图片尺寸400x261
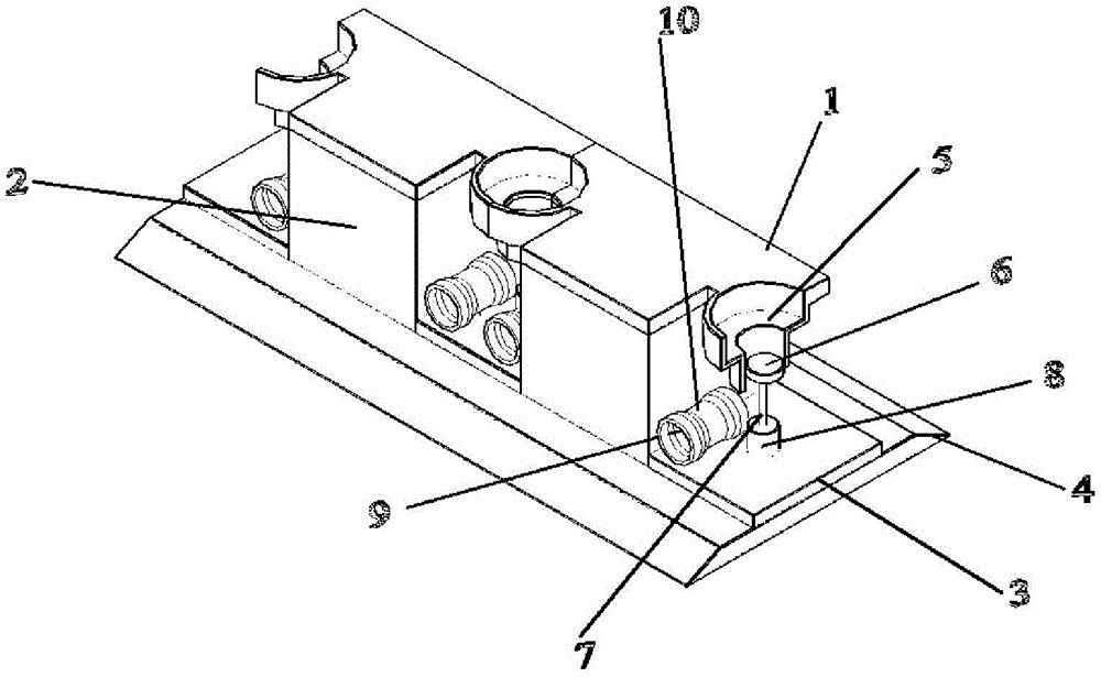
集成波浪能与潮流能发电装置的梳式防波堤
图片尺寸1000x615
海滩 防波堤 混凝土
图片尺寸480x320
鲁班奖获奖工程巡礼!连云港港徐圩港区防波堤工程
图片尺寸865x648
港口水工建筑物之斜坡式防波堤讲义
图片尺寸760x553
直立式防波堤-知识服务助手
图片尺寸522x506
震撼!广澳港区西防波堤形成完整堤体,就像手臂环抱掩护港区
图片尺寸1080x608
港口水工建筑物之透空桩基式防波堤讲义
图片尺寸656x417