检具设计教程

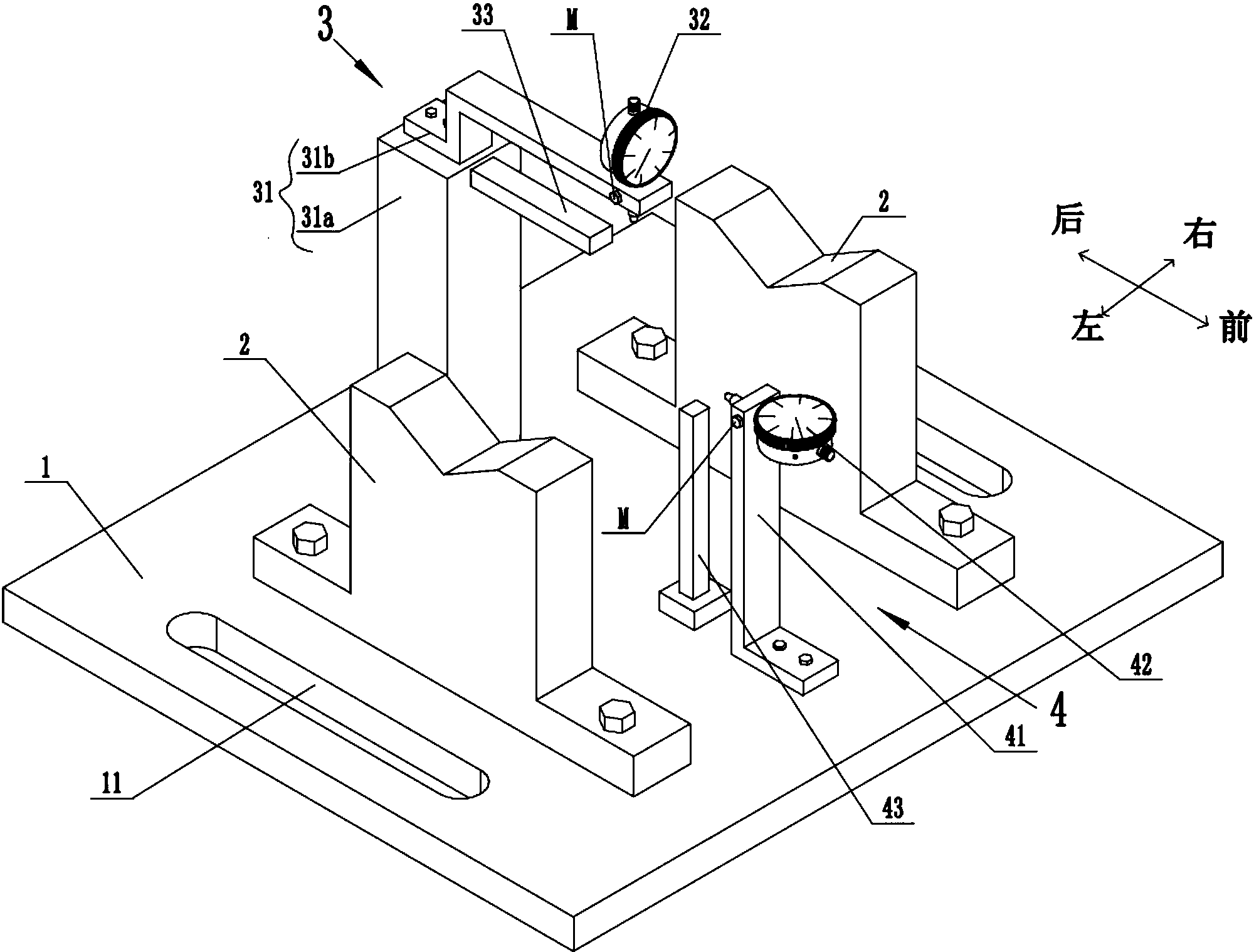
钣金冲压件左右侧对称件检测检具设计
图片尺寸774x483
检具设计作品展示#检具设计 - 抖音
图片尺寸1419x669
08 _ 08 图片_百度百科
图片尺寸758x410
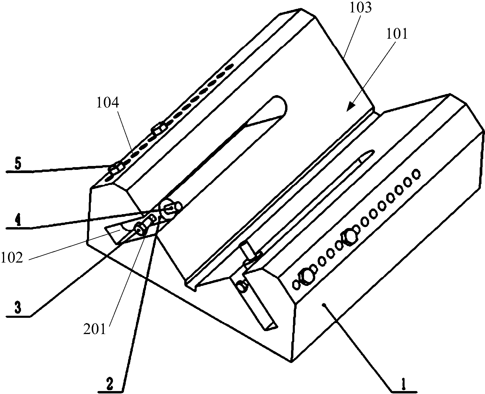
cn112161553a_油缸接管同轴度测量检具在审
图片尺寸1347x1785
cn208269783u_弯管检具有效
图片尺寸1854x1194
一种弯管检具
图片尺寸1192x1135
cn205593447u_一种汽车保险杠检具失效
图片尺寸1672x1577
catia汽车夹具设计视频教程 汽车零部件检具工装设计自学教程
图片尺寸768x768
一种活塞圆弧开档检具
图片尺寸1000x635
一种长弯管检具的制作方法
图片尺寸1000x726
检具制作流程图
图片尺寸920x517
一种前保险杠检具快速设计方法与流程
图片尺寸895x1000
模型库 零部件模型 工装 检具 上传图纸补贴活动 免费发布设计需求
图片尺寸510x591
一种制动踏板总成检具
图片尺寸1000x798
汽车型材检具设计
图片尺寸716x523
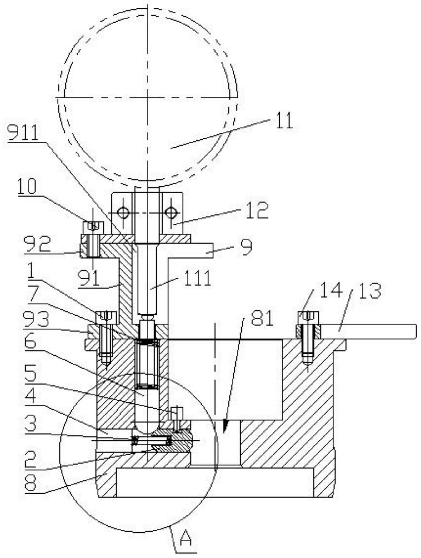
cn206989873u_一种曲拐偏心距及平行度同步检测检具有效
图片尺寸2000x1518
一种飞轮齿圈内圆跳动检具的制作方法
图片尺寸1000x928
若宇检具设计流程图-2010-09-03
图片尺寸714x1005
cn208282762u_检测内孔对非等径外圆联合基准同轴度的辅助测量检具
图片尺寸1640x1334
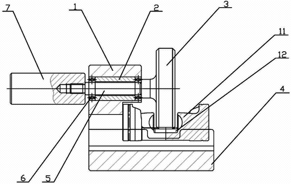
一种用于检测锥齿轮内孔球端倒角高度的检具的制作方法
图片尺寸967x1000