植物纤维简笔画

孤立物体纤维和肌肉符号
图片尺寸1100x1100
造纸纤维素纸品设备的制造及其加工制造技术
图片尺寸1000x537
纤维简笔画
图片尺寸946x296
一种植物纤维的厨房清洁用品-爱企查
图片尺寸480x544
纤维马唐原变种digitariafibrosahackstapfvarfibrosa
图片尺寸1608x2216
造纸纤维素纸品设备的制造及其加工制造技术
图片尺寸1000x345
一种具有抗菌吸湿功能植物纤维面料的制作方法
图片尺寸1000x502
一种植物纤维文胸
图片尺寸1145x1751
本实用新型提供了一种水生植物种植毯,包括3~10层复合纤维网;所述
图片尺寸1000x622
天然纤维素纤维的结构和主要化学性能
图片尺寸640x390
无人,竖图,方图,黑白,插画,数码,科技,阴影,网络,细胞,高光,几何
图片尺寸803x819
属椴树科黄麻属,韧皮纤维作物,一年生草本植物,喜温暖湿润的气候,短
图片尺寸998x1148
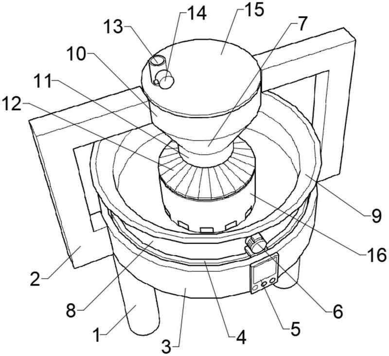
植物纤维餐具原料称重装置-爱企查
图片尺寸800x733
一种含有植物纤维的纱线及其鞋子的制作方法
图片尺寸1000x652
摘要附图摘要本实用新型是针对现有的纺纱的阻燃聚酯纤维通常采用卤系
图片尺寸799x509
两根交叉设置在混凝土块内的钢筋和包覆在多孔混凝土块表面的植物纤维
图片尺寸1254x878
夏凉新品献给你_______微风席席summer御藤艾草席三件套简尚/逸格精
图片尺寸584x487
太阳蝴蝶花朵草地简笔画
图片尺寸500x500
简笔画花草图片大全 简笔画花草图片大全彩色
图片尺寸400x575
一种植物纤维回清洗涤设备-爱企查
图片尺寸800x621