椭圆规 原理

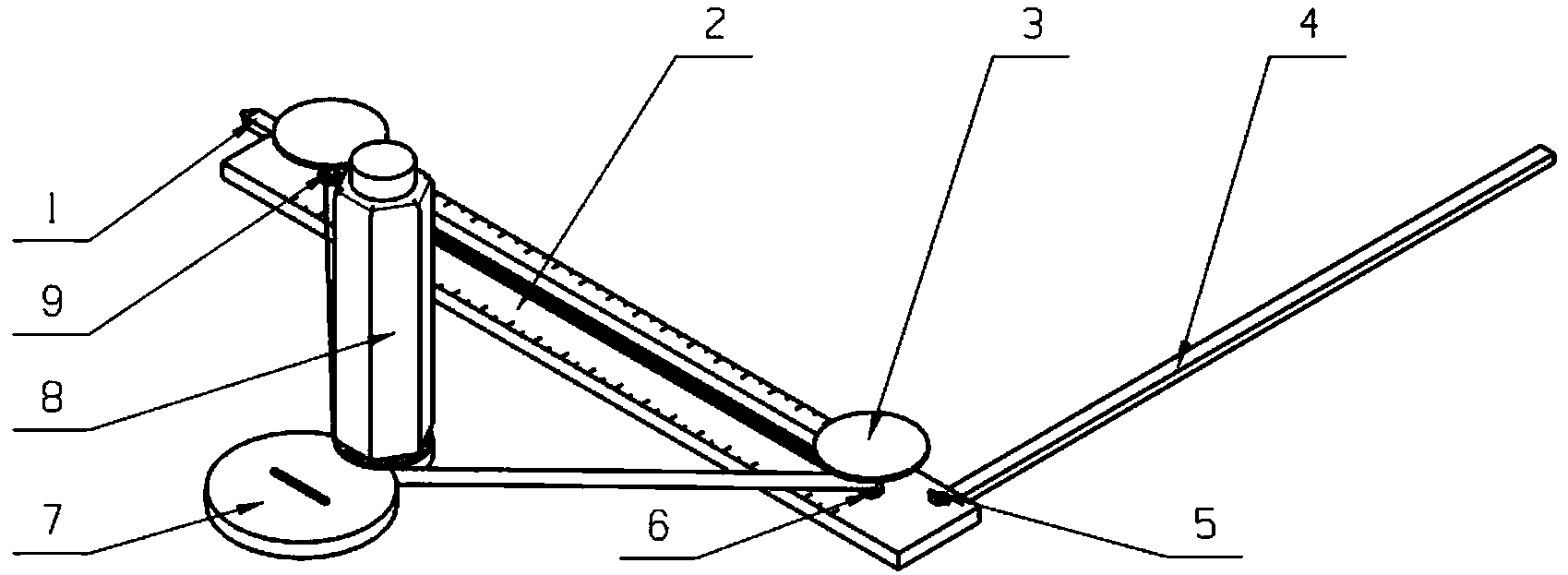
探究: 探究: 椭圆规是用来画椭圆的一种器械,它的构造如图所示.
图片尺寸1080x810
椭圆规原理
图片尺寸486x542
我们先翻译一下椭圆规.
图片尺寸919x552
椭圆规原理
图片尺寸354x201
阿基米德式椭圆规
图片尺寸660x370
椭偏仪原理图
图片尺寸426x248
能不能设计出可以画椭圆的椭圆规而且这是可以商业化的一种产品
图片尺寸829x545
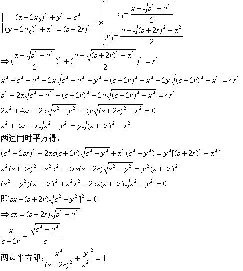
6 图示椭圆规尺ab质量为2m1,曲柄oc质量为 m1,滑块a和b的质量为m2.
图片尺寸1080x810
一种椭圆规的制作方法
图片尺寸1000x972
椭圆规尺的ab重2p1,曲柄oc重p1,滑块a和b均重p2.
图片尺寸811x513
cn205631849u_一种初中数学教具用伸缩式椭圆规失效
图片尺寸1000x678
201110342379-一种椭圆规-申请公开.pdf 11页
图片尺寸792x1121
cn201105587y_一种椭圆规失效
图片尺寸1632x1565
一种磁性多功能变焦式椭圆规
图片尺寸1699x623
输出构件? 椭圆规机构 w=3n-2pl-ph =3 3-2 -0 =1 4
图片尺寸1080x810
一种椭圆规-爱企查
图片尺寸260x260
这种椭圆规的原理是什么
图片尺寸663x443
椭圆规教程分享
图片尺寸640x360
家具设计 #木工diy #木工几何 #椭圆 #木工手作 #几何原理
图片尺寸1080x1441
cn202439434u_椭圆规失效
图片尺寸1427x953