椽望

2016年5月拍摄于重庆罗汉寺
图片尺寸2000x1123
古建
图片尺寸1080x719
营造技艺 | 古建筑中的柱,梁,檩,椽
图片尺寸1080x475
古建
图片尺寸1080x1440
9.20
图片尺寸1599x1199
revit古建设计应用之宋式十架椽身内双槽殿堂
图片尺寸702x490
避暑山庄清代古建筑复原研究设计 第6讲 cad古建筑剖
图片尺寸980x612
10.26
图片尺寸1599x1199
四合院设计图
图片尺寸950x578
4c83c7b1e4a0ac0816beccc6859cee49.png
图片尺寸1080x1814
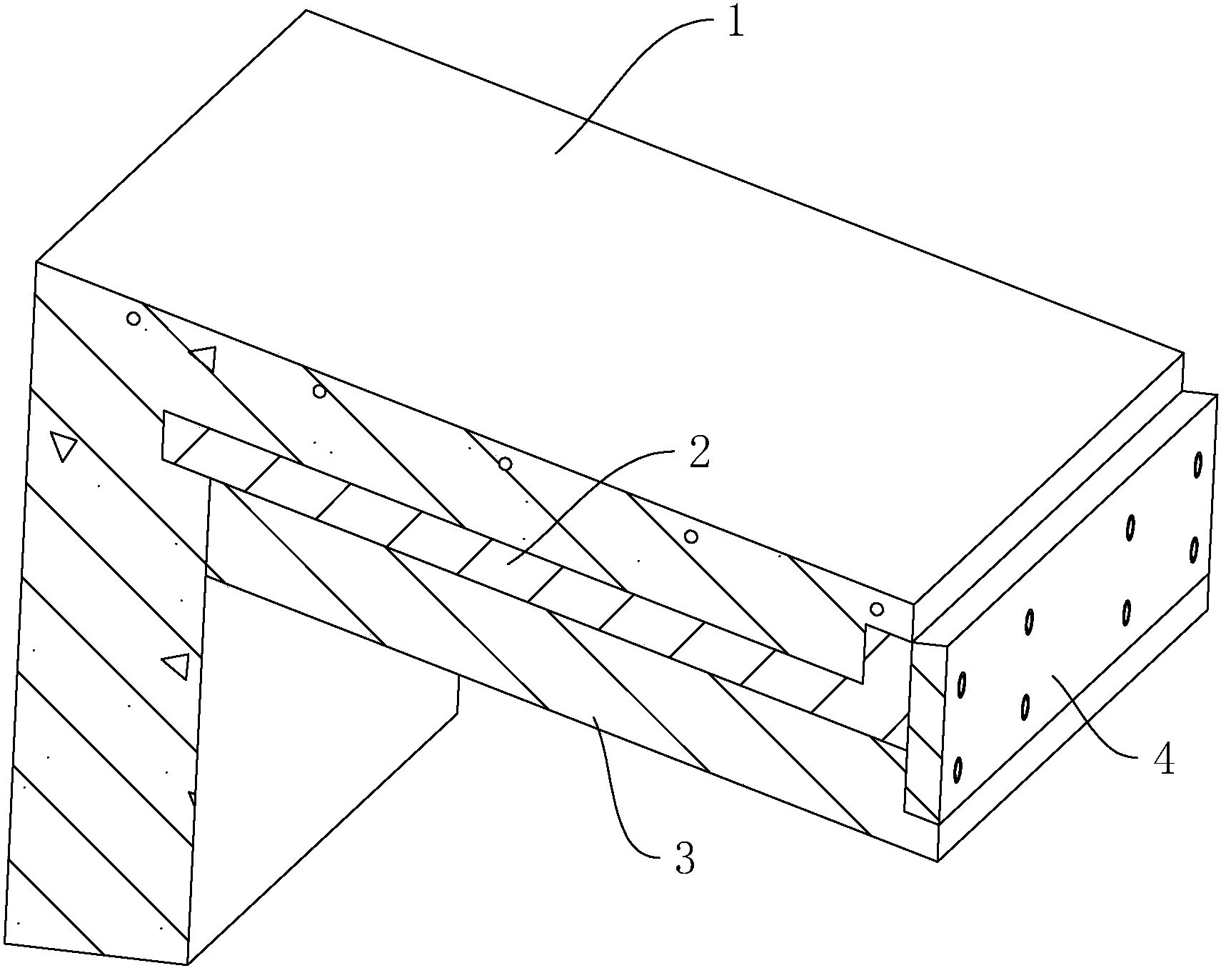
一种仿古建筑屋面檐口椽望的制作方法
图片尺寸523x426
仿古建筑屋面檐口椽望
图片尺寸1710x1355
古建筑配件椽望简介_椽望如何安放
图片尺寸356x220
建筑材料工具的制造及其制品处理技术
图片尺寸1000x392
国家宝藏样式雷烫样传奇世家创造的建筑传奇
图片尺寸640x438
11.16
图片尺寸1599x1199
10.27
图片尺寸1599x1199
14/2016.07· 将军衙署"攻坚克难"重点项目工程快速推进
图片尺寸1599x1200
辛村天齐王庙
图片尺寸960x544
为什么说北魏飞天体态轻柔
图片尺寸500x734