楔式制动器结构图

一种楔式制动器
图片尺寸991x1000
一种楔式制动器的制作方法
图片尺寸991x1000
卡车轻量化又出新招,为减重,被冷落20多年的楔式制动器重出江湖
图片尺寸448x399
楔式制动器部分图片
图片尺寸770x997
所有分类 工程科技 机械/仪表 汽车底盘之制动系ppt 楔式制动器 制动
图片尺寸1080x810
卡车为减重开始用楔式制动器它是啥也是鼓刹想要推广很难
图片尺寸640x474
以凸轮作为促动装置的制动器称为凸轮式制动器;用楔作为促动装置的
图片尺寸500x357
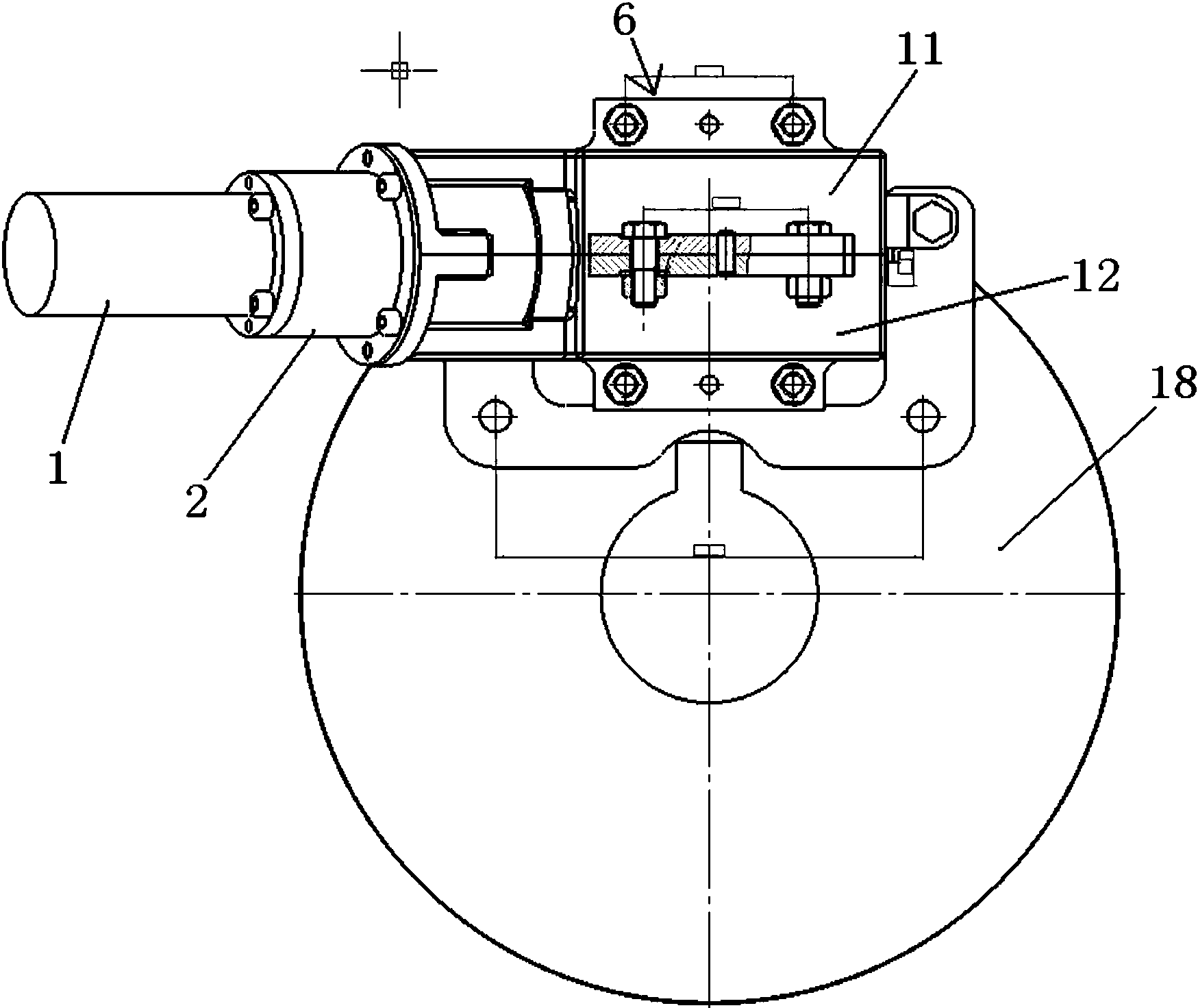
一种电子楔式制动器
图片尺寸1749x1471
楔式制动器楔式制动器的制动蹄依靠在柱塞上,柱塞内端面是斜面,与支于
图片尺寸414x539
具体是一种用于有轨起重机的铁楔式结构的防风及安全制动装置
图片尺寸1000x881
北京bj2023型汽车的后轮制动器即为领从蹄式制动器.
图片尺寸765x566
一种汽车楔式制动器的制作方法
图片尺寸1000x847
cn2921438y_自动调整制动间隙的楔块式机构失效
图片尺寸1960x1900
凸轮式制动器凸轮式制动器是用凸轮取代制动轮缸对两制动蹄起促动作用
图片尺寸726x445
一种轻量化楔式制动器-爱企查
图片尺寸800x765
楔形制动器设计提高了线控制动性能
图片尺寸326x247
全地面及大吨位起重机楔式制动器结构原理及调整
图片尺寸547x454
一种楔式制动器用棘轮式扩张器
图片尺寸1918x2026
如果四轮都是 a href="#" data-lemmaid="3911778">盘式制动器 /a>
图片尺寸549x372
一种气压楔式制动器的多规格通用试验工装的制作方法
图片尺寸1000x793