楔式闸阀装配图

机械装配图纸:"闸阀"#机械装配图纸 #闸阀 #每天学习一点 - 抖音
图片尺寸1080x1517
进口气动楔式闸阀结构(图1)
图片尺寸492x767
一种新型两块式楔式双闸板闸阀-爱企查
图片尺寸488x800
楔形闸阀结构示意图
图片尺寸500x467
图1 楔式闸阀结构
图片尺寸564x273
zs4oh25系列明杆楔式闸阀dn100
图片尺寸395x578
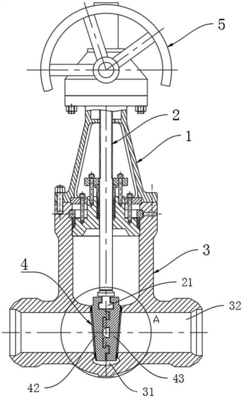
一种楔形闸阀
图片尺寸1555x1950
电动楔式闸阀装配图
图片尺寸786x638
美标型2500磅级楔式闸阀10z960y2500lb全套cad图纸
图片尺寸820x579
美标型300磅级楔式闸阀5z40h300lb全套cad图纸
图片尺寸820x579
zs4oh-25系列明杆楔式闸阀(dn250)
图片尺寸373x500
一种双密封式楔形双闸板闸阀的制作方法
图片尺寸274x443
双楔式闸阀
图片尺寸800x952
一种差压油密封楔式闸阀-爱企查
图片尺寸1460x2021
国标型楔式闸阀150z40y100全套cad图纸
图片尺寸820x580
楔式闸阀的常见种类
图片尺寸504x778
闸阀图纸zip
图片尺寸2338x1653
z342j衬胶楔型闸阀规格尺寸,结构示意图
图片尺寸600x649
一种差压油密封楔式闸阀的制作方法
图片尺寸723x1000
楔式闸阀是什么?双闸板,单闸板和弹性闸板有什么区别?
图片尺寸640x878