榨油机 结构图

一种花生油,豆油,芝麻油通用型榨油机的制作方法
图片尺寸349x443
一种螺旋式榨油机-爱企查
图片尺寸1600x1240
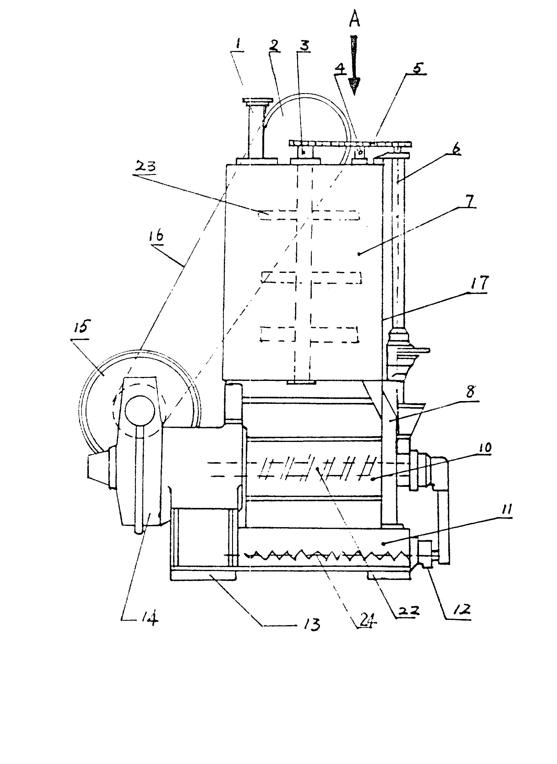
螺旋榨油机的典型结构(图)包括:进料装置,榨膛(榨笼与榨螺轴),调饼
图片尺寸896x778
j750-螺旋式榨油机设计2【说明 5张cad图 sw三维图 - 抖音
图片尺寸1095x821
螺旋榨油机结构
图片尺寸500x360
榨油机 液压榨油机 厂家直销 品质保证 保修一年 免费技术指导
图片尺寸850x468
具体涉及到家用榨油机的油脂收集处理的结构改进方面
图片尺寸635x770
螺旋榨油机构造图
图片尺寸512x396
我们可以根据您的样品或您的设计或您的任何其他要求开发和制造榨油机
图片尺寸811x647
油茶果榨油机机械结构设计
图片尺寸597x390
一种榨油机
图片尺寸1824x2503
一种榨油机的制作方法
图片尺寸994x1000
全自动榨油机致富好项目 新型多功能螺旋榨油机 一机多用榨油机
图片尺寸1920x1170
一种螺旋静音榨油机
图片尺寸1674x1726
榨油机的制作方法
图片尺寸1000x982
常规式游梁式抽油机结构简图
图片尺寸920x651
一种用于浓香油的研磨榨油机
图片尺寸1406x1055
16公斤快速液压榨油机
图片尺寸380x402
供应食用油加工设备自动螺旋榨油机花生压榨机
图片尺寸952x566
液压榨油机构造.jpg
图片尺寸522x446