榴莲采摘机器

数字工坊
图片尺寸741x735
(镜头连中外)东盟榴莲的跨境之旅(2)
图片尺寸640x960
朝发夕至|"水果之王"从泰国搭乘跨国高铁到中国了_榴莲_吴敏卿_美食
图片尺寸1080x608
东盟榴莲的跨境之旅_腾讯新闻
图片尺寸1000x667
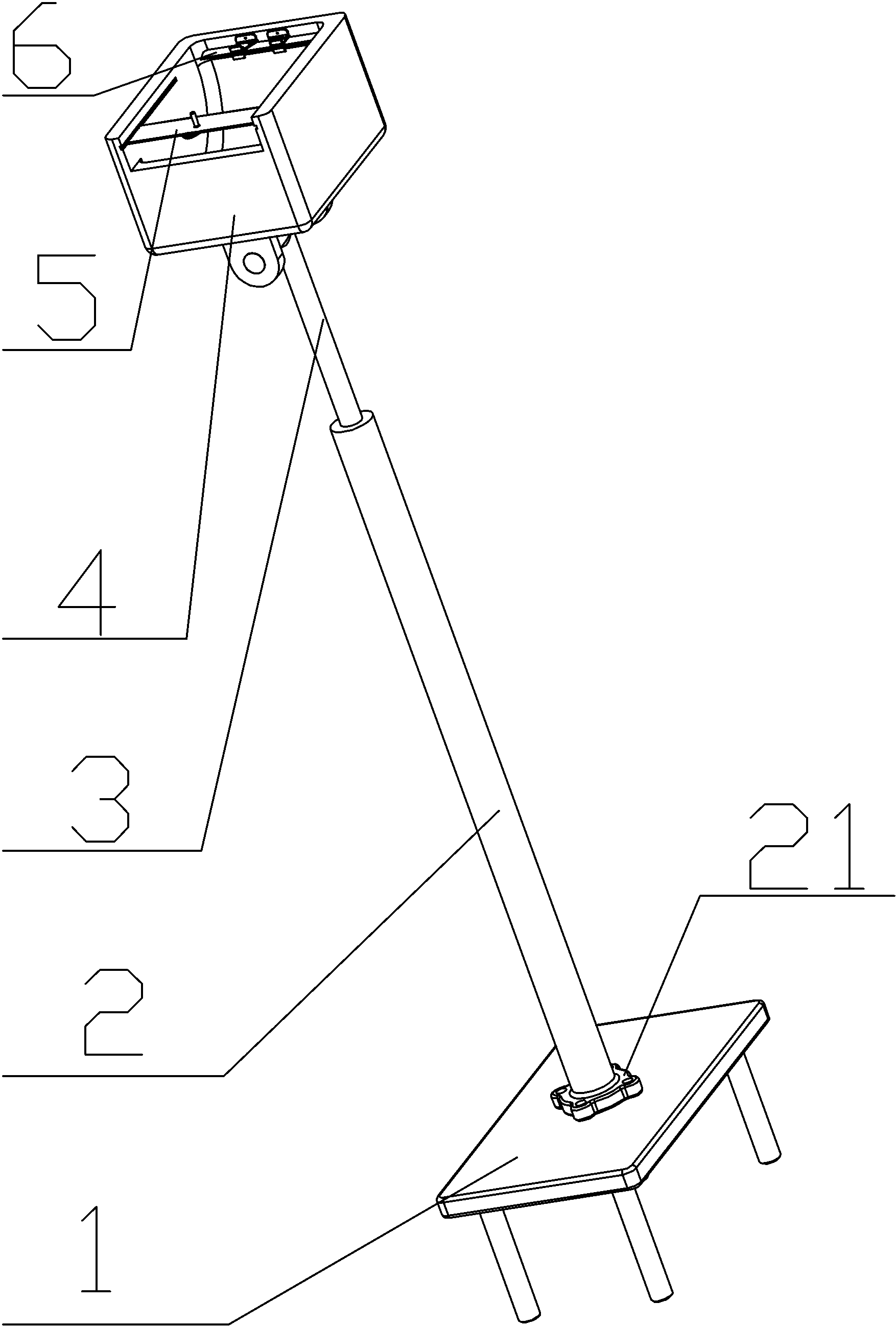
方便接榴莲的榴莲采摘工具专利_专利申请于2020-12-07_专利查询 - 天
图片尺寸1896x1619
方便接榴莲的榴莲采摘工具的制作方法
图片尺寸1000x853
24年第一口榴莲,顺丰给你运回来了!从采摘到落地仅用48小时_中国_出口
图片尺寸1080x809
(镜头连中外)东盟榴莲的跨境之旅(2)
图片尺寸640x427
(镜头连中外)东盟榴莲的跨境之旅(2)
图片尺寸640x427
一种榴莲采摘装置专利_专利申请于2017-11-08_专利查询 - 天眼查
图片尺寸1754x2595
一棵榴莲树能收获400个果实,产量高为何价格还贵,果农给出答案_种植
图片尺寸640x655
苏宁家乐福深化生鲜战略 泰国产地直采助力"榴莲自由"__财经头条
图片尺寸481x579
欧洲时报–欧时网-欧时大参-一颗拍卖388888元人民币 海南榴莲迎采摘
图片尺寸800x533
rcep助力,2022年上半年泰国榴莲输华已达50多万吨
图片尺寸640x426
东盟榴莲的跨境之旅|榴莲_新浪财经_新浪网
图片尺寸2126x1417
高空采摘榴莲
图片尺寸1080x810
【水果保鲜】榴莲采摘后如何延长保鲜贮藏期?_认证_奥克泰士_产品
图片尺寸4928x3264
从泰国果园到中国市场 一颗榴莲的"北上之旅"_国际新闻_大庆网
图片尺寸1024x683
原来一棵榴莲树上可以长这么多榴莲啊,而且人家这榴莲长的位置也不算
图片尺寸752x1280
东盟榴莲的跨境之旅|榴莲_新浪财经_新浪网
图片尺寸1072x715