模具导向装置

座式导向组件|东莞市绪龙精密模具有限公司_企讯网
图片尺寸500x375
注塑模具导向定位系统简介
图片尺寸359x403
一种冲压模具的导向装置
图片尺寸1181x414
图3-6 注射装置的导向和驱动
图片尺寸1537x890
一种电脑支架注塑模具合模用导向装置_cn201921384588.x_知雀网
图片尺寸995x1000
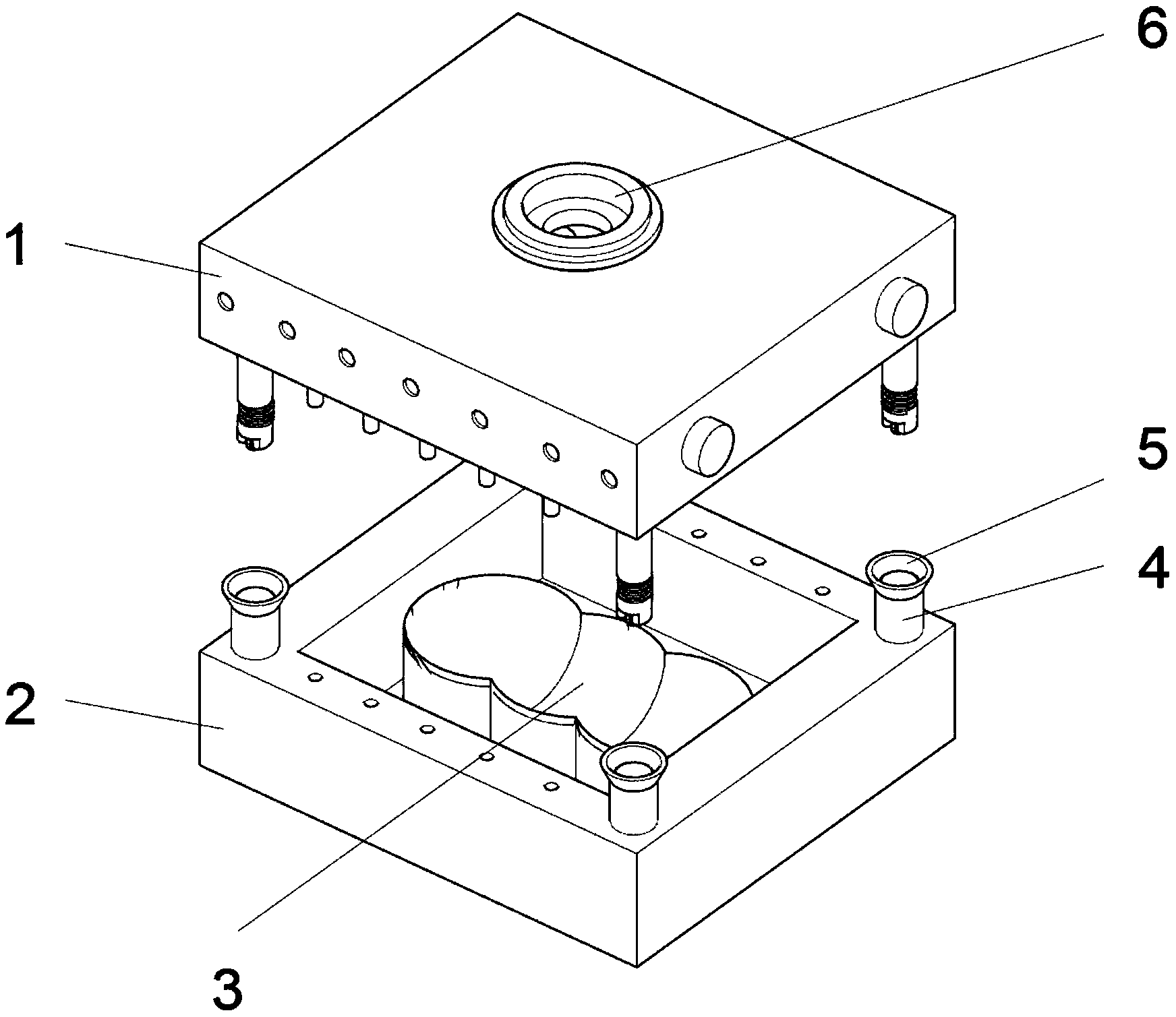
一种电脑支架注塑模具合模用导向装置
图片尺寸1744x1509
cn101924429a_一种电机复式模具导向结构有效
图片尺寸1488x2116
一种新型汽车模具导向装置
图片尺寸1238x1406
一种冲压模具导向结构的制作方法
图片尺寸891x476
一种模具锥度导向装置制造方法及图纸
图片尺寸1000x968
本实用新型涉及导向装置技术领域,具体为一种模具模架导向机构.
图片尺寸444x362
一种模具上的导向装置-爱企查
图片尺寸285x241
硒鼓导向板塑料模具
图片尺寸814x738
冲压模具 | 冲压模具制造专用标准组件 | meusburger
图片尺寸1000x928
一种模具用铁片导向装置制造方法及图纸
图片尺寸1000x445
塑料模具设计-导向定位系统
图片尺寸806x529
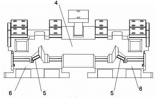
装置,包括一对导向板,两导向板呈分离的v形,并分别设于模具的斜楔滑动
图片尺寸534x336
一种汽车冲压整形模具斜楔导向装置-爱企查
图片尺寸1693x1565
一种模具锥度导向装置-爱企查
图片尺寸1029x1003
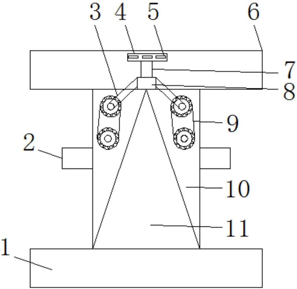
导向零件应承受一定的侧向力,因此对注塑模具导向结构设计有一定的
图片尺寸411x240