模切机结构示意图

模切机的制作方法
图片尺寸1000x947
320款卷筒不干胶滚刀模切机 全自动多功能高速合成纸圆刀模切机
图片尺寸1129x776
hqp150混凝土切割机构造及原理
图片尺寸904x1280
一种多工位平压平自动模切机
图片尺寸1417x547
模切机定位机构对模切精度的影响
图片尺寸450x365
cn213165500u_一种瓦楞纸板模切机
图片尺寸1793x1839
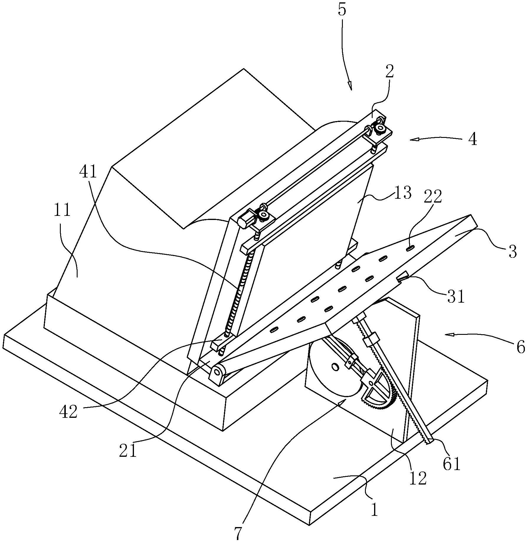
cn106182159b_一种双工位模切机有效
图片尺寸1971x1423
切割机的制作方法
图片尺寸782x1000
cn110027935a_模切机在审
图片尺寸1000x947
提供一种切割机,该切割机结构简单,操作既快捷方便又简单实用;操作台
图片尺寸1000x870
一种带平刀冲切模组的自动轮转模切机的制作方法
图片尺寸894x1000
本实用新型公开了一种高效钢筋切割机,其结构包括基座,脚撑,摩擦杆
图片尺寸1705x1580
cn213226485u_一种在线除尘的圆刀模切机有效
图片尺寸1759x1382
切片机的制作方法
图片尺寸975x1000
cn208101160u_一种瓦楞纸箱模切机有效
图片尺寸1842x1163
揭晓冲切大尺寸高速模切机优势特点
图片尺寸660x415
一种双工位模切机制造技术
图片尺寸1000x721
cn2837025y_磁性辊模切机失效
图片尺寸800x534
一种圆刀模切机的制作方法
图片尺寸443x291
一种模切机
图片尺寸1832x1391