横向止挡图片

cl242-k 横向止挡 - 南京雷尔伟新技术股份有限公司
图片尺寸500x358
横向止挡
图片尺寸500x501
cl242-k 横向止挡
图片尺寸400x301
一脚下去猛如"超跑"?看看我试的这台7万元7座suv
图片尺寸1080x810
crh5动车组转向架简介ppt
图片尺寸1080x810
停车位挡车器停车墩定位器止退器车轮止滑器橡胶挡车器汽车防滑防溜车
图片尺寸790x537
一种具有较高稳定性的横向止挡的制作方法
图片尺寸527x223
crh5动车组转向架简介ppt
图片尺寸1080x810
横向止挡安装装置
图片尺寸1641x656
车位汽车停车位地挡止退器防撞占位挡车器定位器限位器阻车器 1米83挡
图片尺寸1500x2322
03steel casting
图片尺寸615x493
一种行车止挡装置
图片尺寸1630x1330
加以约束,那么可以将其他载荷系分为:二系垂向载荷,纵向载荷,横向载荷
图片尺寸700x496
谈扭转梁悬架中的学问
图片尺寸655x367
一种轨道列车用横向止挡 - cn201711094893.
图片尺寸1000x704
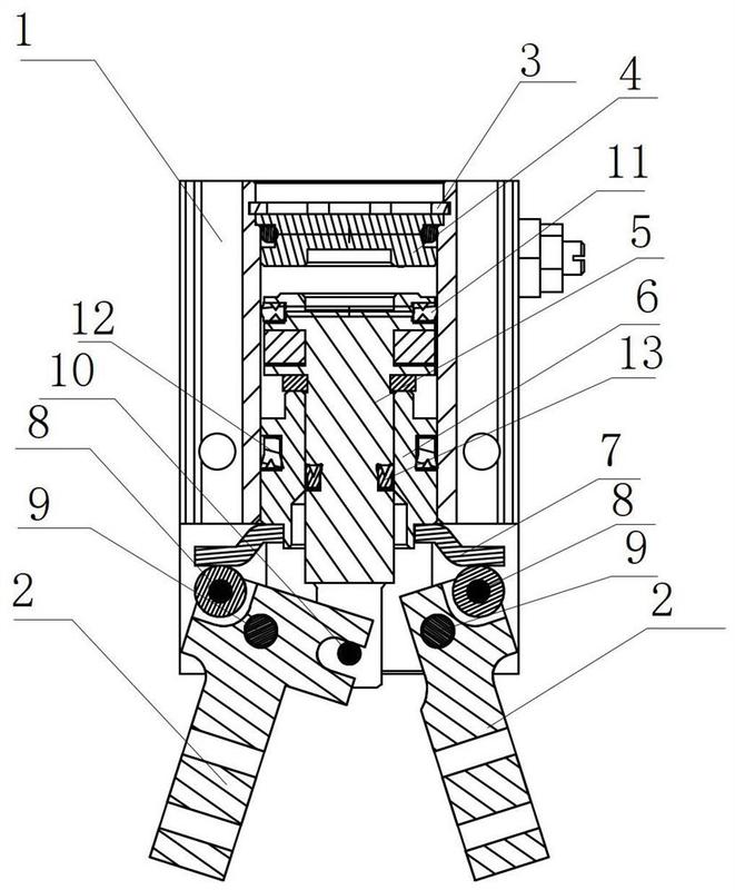
缸体内设有活塞杆,活塞杆的外侧套有导套,导套具有环状台阶止挡部
图片尺寸661x800
止挡车器汽车车位止退器地挡缓冲阻挡停车位胎停车轮拦车定位器
图片尺寸790x946
又一地铁 首台车辆智能巡检机器人上线
图片尺寸1080x810
无时无刻不来电
图片尺寸640x361
用于跨坐式轨道列车的横向止挡装置的制作方法
图片尺寸1000x781