止推轴承cad图

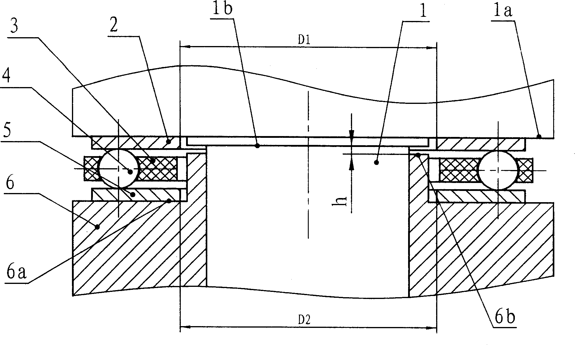
变孔径平面止推球轴承
图片尺寸1950x1169
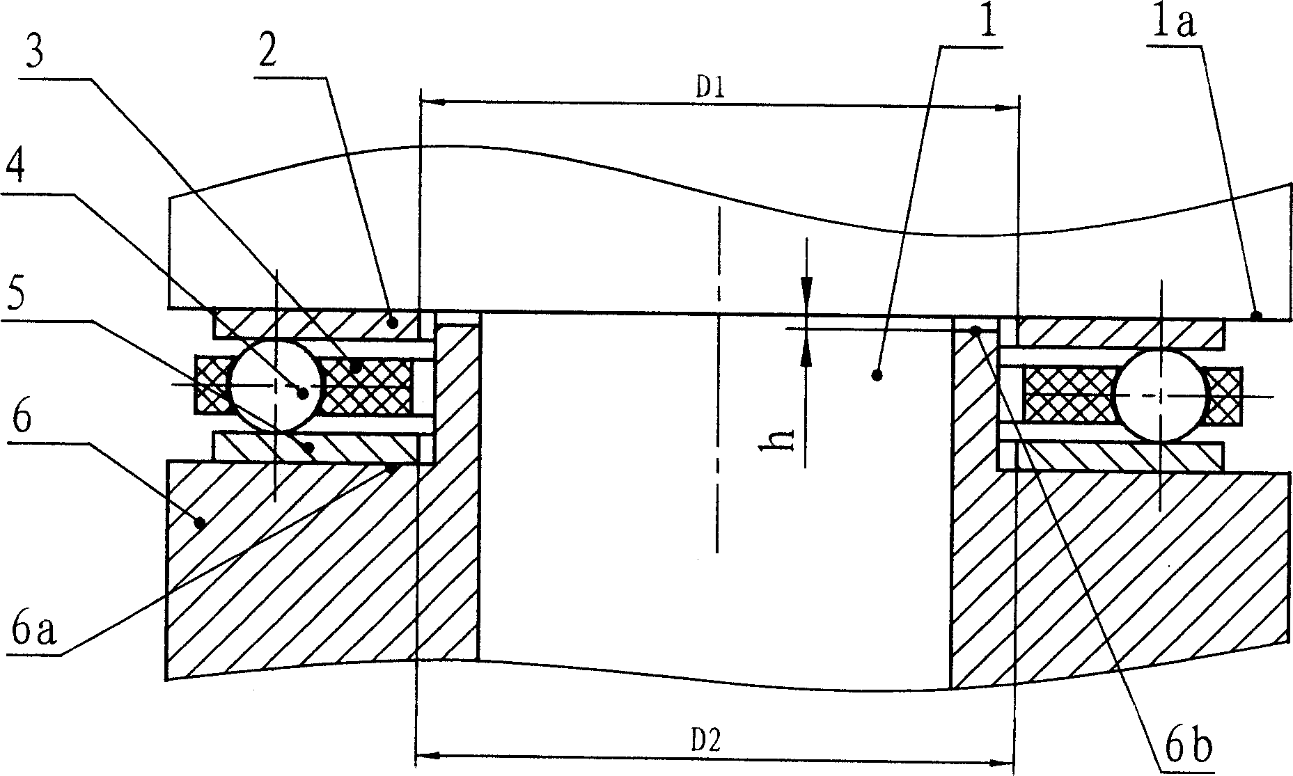
变孔径平面止推球轴承
图片尺寸1857x1115
滚动轴承的特征画法与规定画法向心推力轴承——同时承受轴向和径向
图片尺寸564x484
径向止推动静压轴承的结构简图
图片尺寸200x90
止推轴承
图片尺寸220x210
p>skf beam040100-2z轴承是skf品牌的一种角接触推力球轴承. /p>
图片尺寸1651x1100
机械制图中滚动轴承画法
图片尺寸720x336
机床丝杠用推力角接触轴承配置结构设计_载荷_方向_径向
图片尺寸1000x744
6.2 轴承零件的绘制圆锥滚子轴承cad绘制-教育视频-搜狐视频
图片尺寸580x326
滚动轴承的特征画法与规定画法向心推力轴承——同时承受轴向和径向
图片尺寸563x505
1/1nsk 52204推力球轴承图纸信息图片尺寸400x246
图片尺寸400x246
iko nbxi4032z轴承 组合轴承 - 滚针推力滚子轴承内圈型号:lrt
图片尺寸381x137
ina 滚针/推力圆柱滚子轴承 zarf3080-tv轴承
图片尺寸220x220
向心推力轴承
图片尺寸220x165
推力球轴承fc66012.9图纸
图片尺寸250x111
常用的单列深沟球轴承,单列圆柱滚子轴承,圆锥滚子轴承,推力角接触球
图片尺寸1080x1634![[1] 品牌:skf 系列:组合式滚针轴承, 滚针/推力球轴承](https://i.ecywang.com/upload/1/img0.baidu.com/it/u=47583081,50913646&fm=253&fmt=auto&app=138&f=GIF?w=780&h=340)
[1] 品牌:skf 系列:组合式滚针轴承, 滚针/推力球轴承
图片尺寸780x340
fag 89307-tv轴承词条图册_百度百科
图片尺寸230x230
【案例】斜轧穿孔机轴承故障浅析
图片尺寸561x357
nsk 51108轴承
图片尺寸250x110