止水夹示意图

下图中的a~e是初中化学实验中常用的几种装置,按要求回答问题.
图片尺寸443x162
一种止水夹的制作方法
图片尺寸1000x630
根据下图及描述回答下列问题: (1)关闭b装置中的止水夹后,从长颈漏斗
图片尺寸479x151
输液泵自锁式止液夹
图片尺寸1887x1344
将小试管放入吸滤瓶中,并用止水夹夹住支管处的橡皮管.
图片尺寸356x180
一种输液器止流夹
图片尺寸800x773
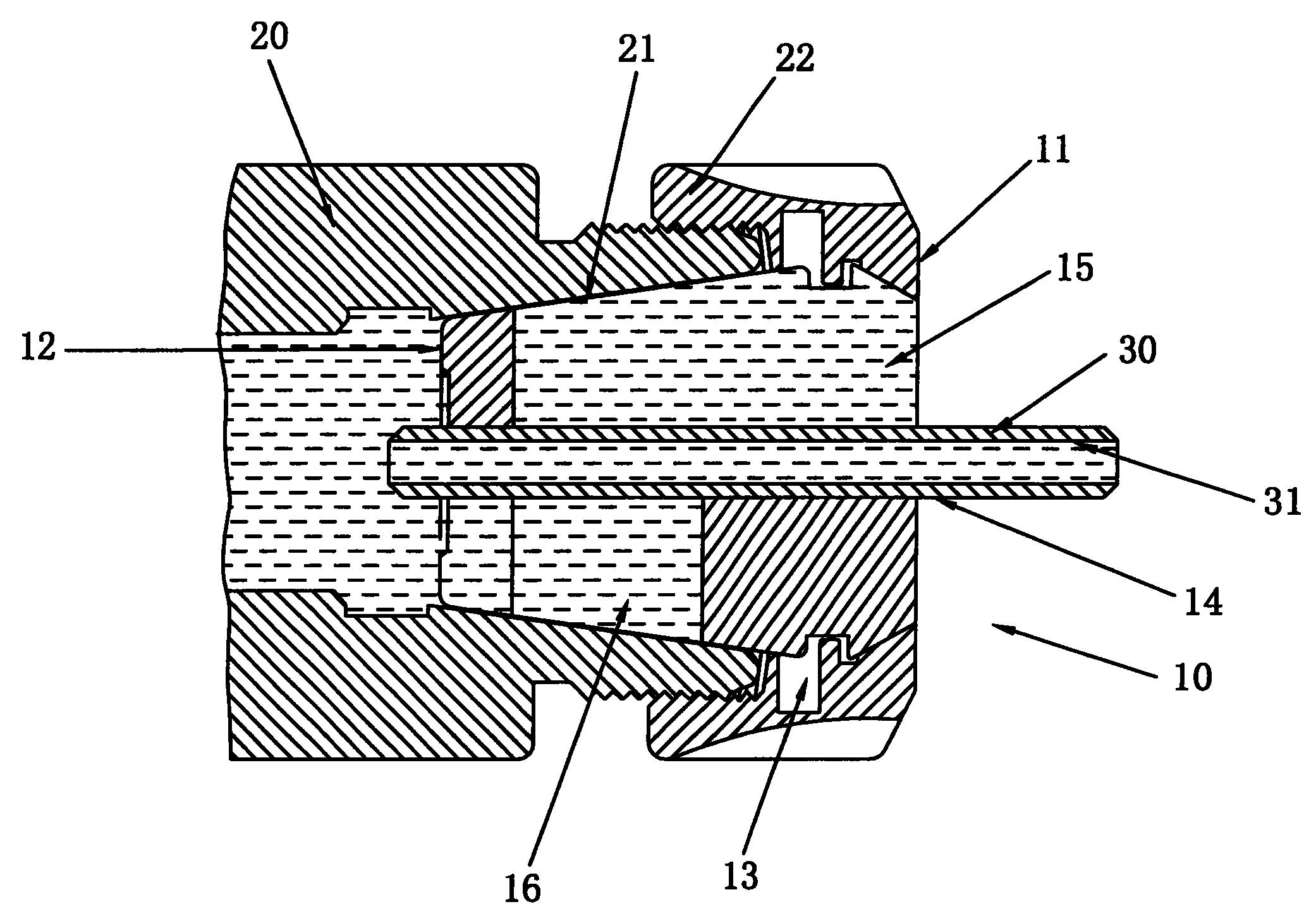
一种输液管路止流夹的制作方法
图片尺寸957x1000
一种多功能止水夹的制作方法
图片尺寸1000x672
一种止水钢板固定焊接夹具的制作方法
图片尺寸504x579
一种具有止水构造的刀具筒夹-爱企查
图片尺寸2082x1458
(2)用图乙尖嘴管导出可夹云宀⒌闳,也不会使
图片尺寸274x331
输液管s仿形易复位止流夹
图片尺寸811x721
隧道钢边橡胶止水带夹具及定位卡施工安装小技巧
图片尺寸640x416
正河源 止水筒夹,er25eo-09.0-晨光科力普办公用品官网
图片尺寸790x384
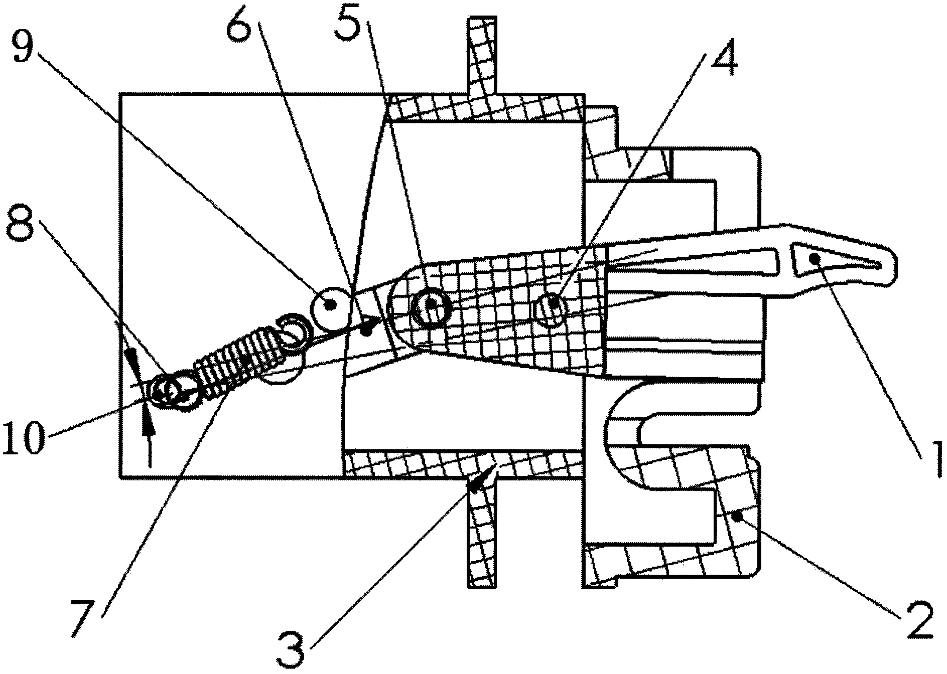
一种止血夹的制作方法
图片尺寸534x1000
一种配合内窥镜使用的可吸收止血夹
图片尺寸1738x1039
12.生活中的下列变化属于化学变化的是( )
图片尺寸353x205
一种隧道仰拱止水带定位夹具的制作方法
图片尺寸1000x715
天津)如图所示,打开止水夹,将液体a滴入试管①中,a与固体b能发生化学
图片尺寸195x216
隧道钢边橡胶止水带夹具及定位卡施工安装小技巧
图片尺寸640x423