正压关风器结构图

厂家出售关风器 粉料颗粒关风器 粉尘关风器 面粉厂用关风器
图片尺寸750x1069
一种无残留关风器的制作方法
图片尺寸507x1000
一种具有防堵功能的正压关风器的制作方法
图片尺寸1000x768
关风器的结构及工作原理
图片尺寸582x591
一种清理式关风器的制作方法
图片尺寸1000x650
一种气动清理关风器的制作方法
图片尺寸1000x939
一种便于控温的正压关风器的制作方法
图片尺寸1000x575
产品中心关风机关风器闭风器系列
图片尺寸720x354
关风器基础知识pptppt
图片尺寸860x645
一种切削式关风器的制作方法
图片尺寸1000x959
tgfz组合关风器
图片尺寸300x261
ycdyjd系列关风器
图片尺寸800x1145
散热低压风机ms150322kw
图片尺寸861x454
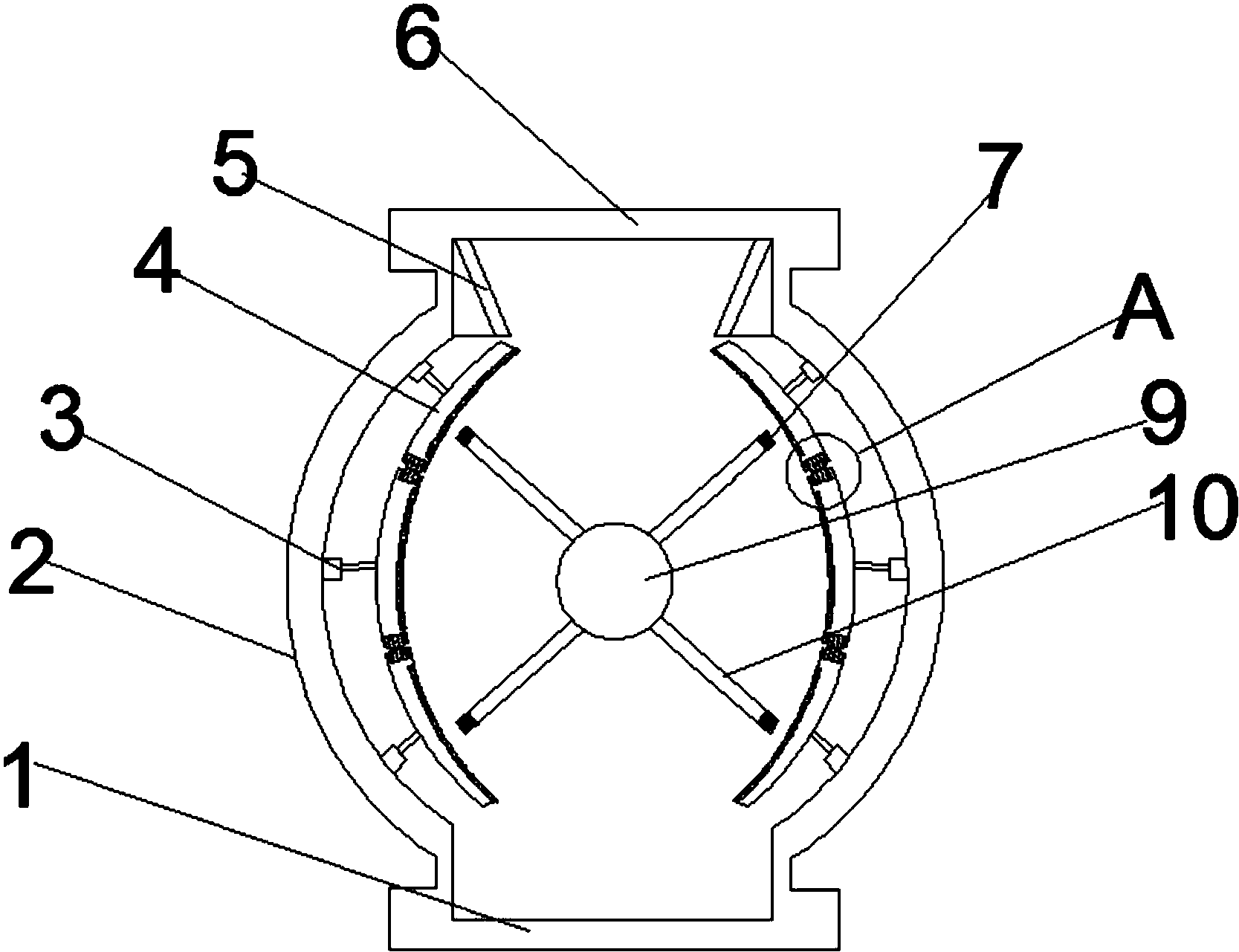
cn109279368a_一种具有防堵功能的正压关风器有效
图片尺寸1667x1281
高压鼓风机结构图
图片尺寸800x905
关风机/卸料阀/旋转阀结构图
图片尺寸1256x1581
关风器cad图纸
图片尺寸800x600
rb-033 2.2kw高压鼓风机
图片尺寸842x545
一种关风机的制作方法
图片尺寸1000x855
一种快拆式关风机的制作方法
图片尺寸1000x562