段坤君

词条图片
图片尺寸854x1280
词条图片
图片尺寸670x503
公开资料显示,段坤君,1986年出生,湖南郴州资兴人,2003年考入湖南农业
图片尺寸480x450
光明网刊文湖南选调生段坤君蹊跷升迁背后步步有问号
图片尺寸600x780
光明网刊文湖南选调生段坤君蹊跷升迁背后步步有问号
图片尺寸560x525
湖南省委组织部 省委工委书记莅临绿之韵调研(3)
图片尺寸500x298
艺术学院 段坤君乡村振兴吹响号角
图片尺寸1920x2560
新闻中心 体育新闻 中新网郴州9月26日电 (刘柱 段坤君)中国女排主
图片尺寸540x359
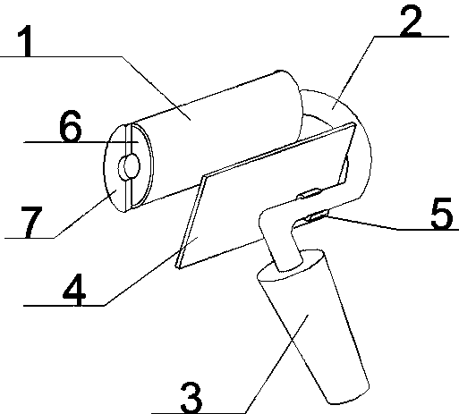
cn206844588u_一种自供料滚筒刷失效
图片尺寸513x463
肯定; 2007年9月,段坤君进入湖南农业大学资源环境学院攻读硕士学位!
图片尺寸500x332
首页 专利查询 段坤君专利 >正文 【技术实现步骤摘要】
图片尺寸524x468
成立学习实践科学发展观活动工作组,段坤君为"研究Κ生工作组"成员
图片尺寸500x332