母线夹安装示意图

母线系统图
图片尺寸622x682
密集低压高压封闭型母线槽密集型母线槽空气型母线槽母线槽厂家
图片尺寸1440x1920
母线槽整体安装示意图
图片尺寸610x565
母线安装
图片尺寸1089x670
如何有效安装母线产品
图片尺寸465x527
母线安装ppt
图片尺寸1080x810
安装密集型母线槽需要注意些什么
图片尺寸600x315
安装密集型母线槽需要注意些什么
图片尺寸618x231
密集母线安装手册答题.doc
图片尺寸792x1120
【ibe】电气安装细部做法图文集锦
图片尺寸600x304
封闭式插接母线槽安装及验收方法
图片尺寸463x345
共箱母线施工安装顺序
图片尺寸639x445
母线槽安装方法图片封闭式母线槽安装图集
图片尺寸640x636
母线槽安装图
图片尺寸590x442
建筑施工中的母线槽安装方案
图片尺寸585x465
桥架母线槽安装
图片尺寸560x416
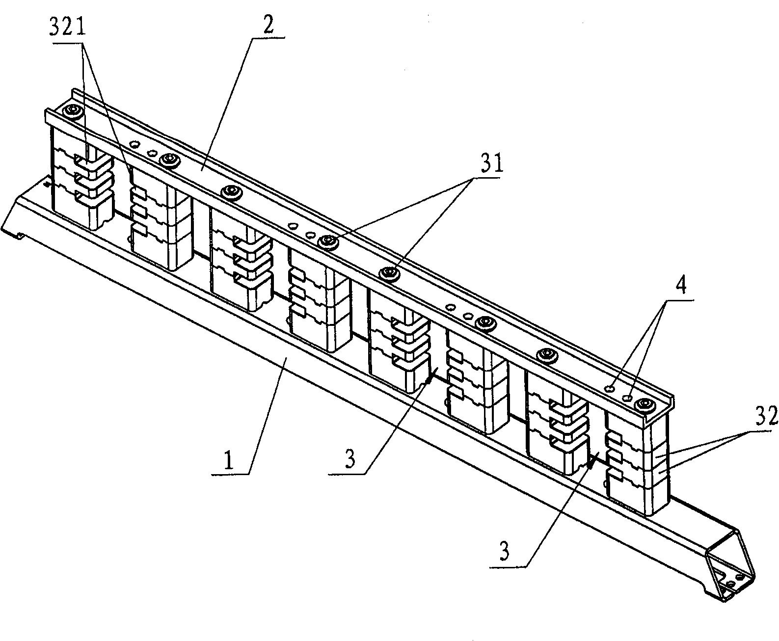
在安装支座上并排设置有若干组母线夹持部件,每一组母线夹持部件包括
图片尺寸1587x1306
浇注母线槽产品介绍及安装
图片尺寸587x574
密集母线线槽长度安装方法
图片尺寸1140x640![[分享]"母线槽"咋安装?看这里!](https://i.ecywang.com/upload/1/img1.baidu.com/it/u=135940283,1152105047&fm=253&fmt=auto&app=138&f=JPEG?w=667&h=500)
[分享]"母线槽"咋安装?看这里!
图片尺寸840x630