母线槽内部结构图

母线槽分类与选型(实战经验总结),果断收藏_绝缘_性能_散热
图片尺寸1326x812
鑫马母线厂家 空气型母线槽 密集母线槽 西门子铜母线
图片尺寸570x581
铭创智能:致力于提供卓越的电缆桥架,母线槽和高低压配电柜产品_公司
图片尺寸1268x727
生产密集母线需要注意什么
图片尺寸500x241
铝导体密集型母线槽
图片尺寸675x595
一种便于维修保养的母线槽的制作方法
图片尺寸520x371
空气型封闭母线槽
图片尺寸640x458
母线槽的组成, 以及母线槽的基本介绍(图文分析)
图片尺寸484x276
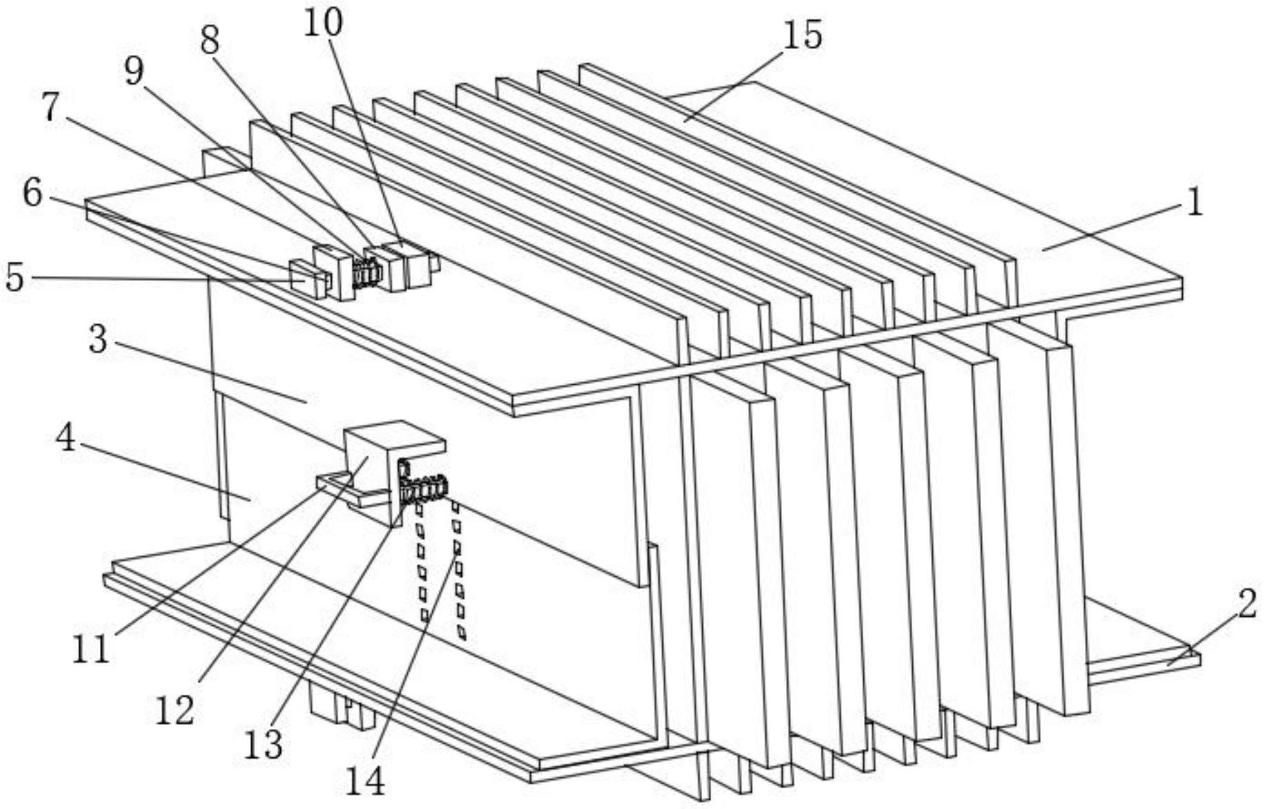
cn213693079u_一种具有高防护等级铜铝复合导体节能型母线槽有效
图片尺寸1836x1175
母线槽的组成结构是怎样的?
图片尺寸700x857
密集低压高压封闭型母线槽密集型母线槽空气型母线槽母线槽厂家
图片尺寸1440x1920
一种密集型母线槽的制作方法
图片尺寸444x306
一种密集型耐火母线槽
图片尺寸1338x956
密集型母线槽
图片尺寸600x844
目前,传统的密集型母线槽构造由钢板外壳结构,空气式的分接口组成每
图片尺寸443x301
耐火母线槽按绝缘结构分类又可以分为:空气绝缘耐火母线槽和密集绝缘
图片尺寸1080x837
9的一种铜铝复合节能母线槽,结构强度高,结构稳定,散热性好,加工装配
图片尺寸1000x901
67母线槽结构特点及母线槽施工方案
图片尺寸383x587
一种密集型耐火母线槽的制作方法
图片尺寸1000x716
一种便于拆装的母线槽的制作方法
图片尺寸402x443