母线槽构造

母线槽分类与选型(实战经验总结),果断收藏_绝缘_性能_散热
图片尺寸1326x812
铭创智能:致力于提供卓越的电缆桥架,母线槽和高低压配电柜产品_公司
图片尺寸1268x727
铝导体密集型母线槽
图片尺寸675x595
鑫马母线厂家 空气型母线槽 密集母线槽 西门子铜母线
图片尺寸570x581
一种组合型母线槽-爱企查
图片尺寸800x585
密集型母线-密集型母线槽-产品中心-河南东福母线制造有限公司
图片尺寸468x356
母线槽的组成, 以及母线槽的基本介绍(图文分析)
图片尺寸484x276
一种便于安装拆卸维修的密集型母线槽的制作方法
图片尺寸533x471
一种具有防水防护结构的母线槽的制作方法
图片尺寸443x304
目前,传统的密集型母线槽构造由钢板外壳结构,空气式的分接口组成每
图片尺寸443x301
安装密集型母线槽需要注意些什么
图片尺寸542x583
封闭母线槽是什么能应用在哪里
图片尺寸979x648
一种封闭结构环氧浇注母线槽-爱企查
图片尺寸800x737
1,选择正规企业的合格产品:母线槽应为具有3c强制性认证标志和型式
图片尺寸500x241
一种结构稳定的密集型母线槽的制作方法
图片尺寸518x392
空气型封闭母线槽
图片尺寸640x458
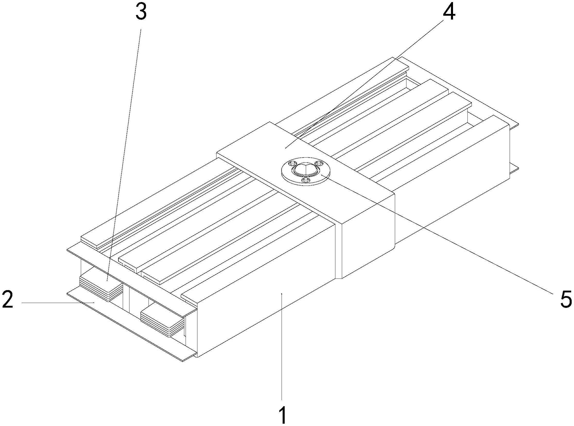
一种双层结构的密集型母线槽-爱企查
图片尺寸2230x1655
一种便于维修保养的母线槽的制作方法
图片尺寸520x371
一种密集型母线槽的制作方法
图片尺寸444x306
密集低压高压封闭型母线槽密集型母线槽空气型母线槽母线槽厂家
图片尺寸1440x1920