气体分布器设计

一种气体分布器
图片尺寸735x1000
重力式分离器一般分为立式和卧式两种,也是利用气体和液体密度不同
图片尺寸593x657
浙江空气分布器
图片尺寸600x459
气体分布器
图片尺寸400x400
cn201760272u_乙炔氯化塔新型气体分布器失效
图片尺寸1851x1518
一种空气分布器
图片尺寸1000x843
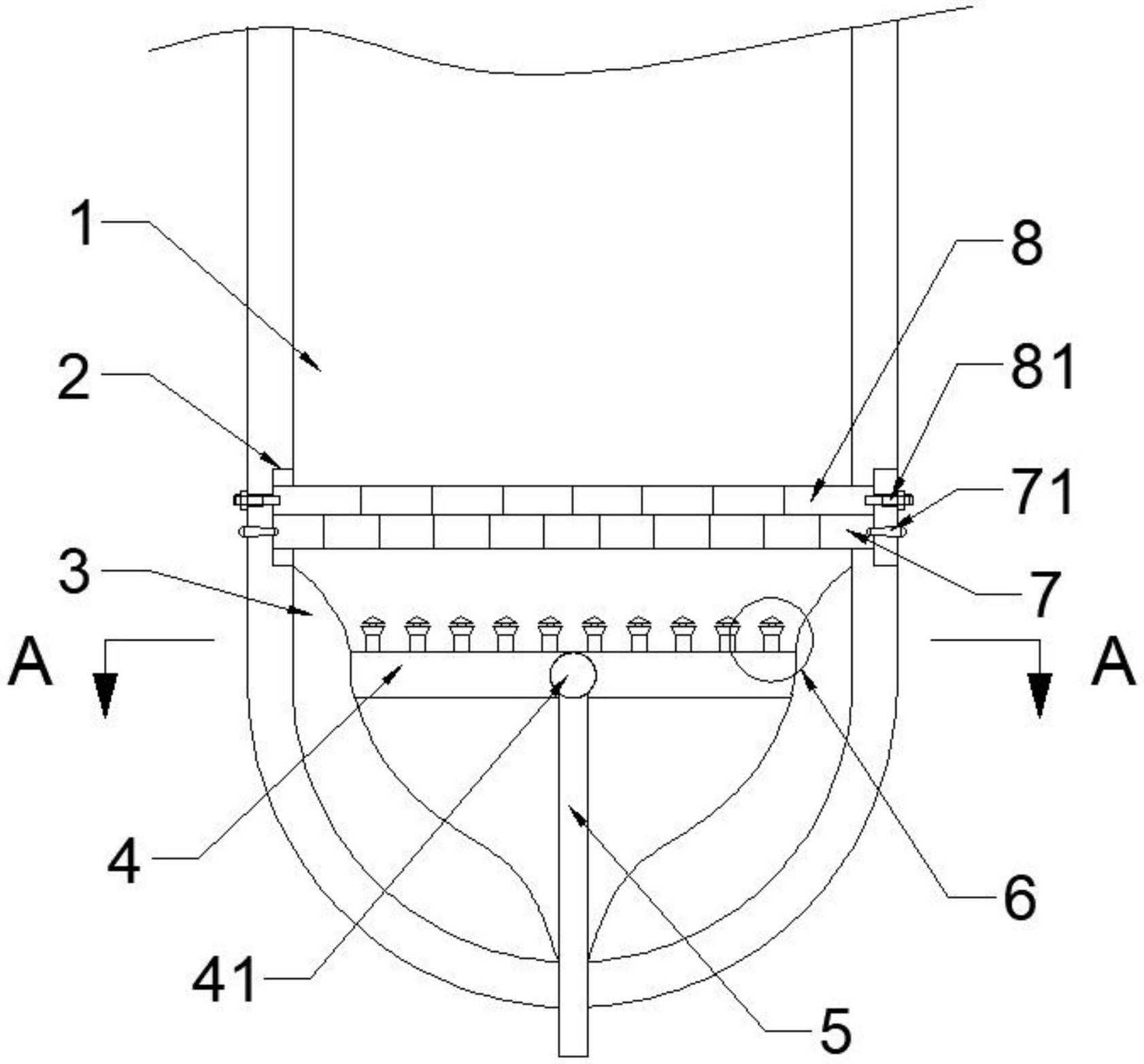
气体分布器 - cn201720434473.
图片尺寸1000x990
反应塔内件金属槽盘式气液分布器 集液布液布气用塔器气体分布器
图片尺寸750x750
一种冷氢化流化床反应器气体分布器
图片尺寸1682x1565
cn206783610u_流化床煤炭气化炉用气体分布器有效
图片尺寸947x1000
气体初始分布器使用项目及原理的优,缺点
图片尺寸800x600
流化床煤炭气化炉用气体分布器制造技术
图片尺寸944x1000
为什么faery空气分布器与同类产品相比更先进
图片尺寸3063x1737
cn208221225u_一种气体分流器有效
图片尺寸1608x1505
dn1600槽盘式分布器装配图
图片尺寸850x556
气液分离器cad图纸dwg图纸
图片尺寸481x623
一种用于烟气脱硫塔的高通气率气液分布器
图片尺寸1513x1510
气液分布均匀槽盘式分布器不锈钢液体气体分布器
图片尺寸800x800
环状含油污泥阴燃气体分布器
图片尺寸1942x1406
一种具有传质作用的槽盘气液分布器的制作方法
图片尺寸1000x942