气保焊机结构图

一种二氧化碳气体保护焊机的制作方法
图片尺寸1000x998
二氧化碳气体保护焊设备的安装场地及要求:焊机应安装在离墙和其它
图片尺寸550x550
自动焊机可用于不熔化极或熔化极气体保护焊.
图片尺寸816x537
一种双电压输入的多功能气保焊机
图片尺寸1000x844
一种用于生产钢架结构的带备用电源的气保焊机的制作方法
图片尺寸1000x838
正特mig350n系列二保焊气体保护焊手工焊两用电焊机
图片尺寸1168x1920
【nbc270双电压气保焊co2二保焊机逆变气保焊_双电压气保焊机价格
图片尺寸1080x1199
逆变气体保护焊机电焊机二保焊机nbc500广创易胜
图片尺寸600x513
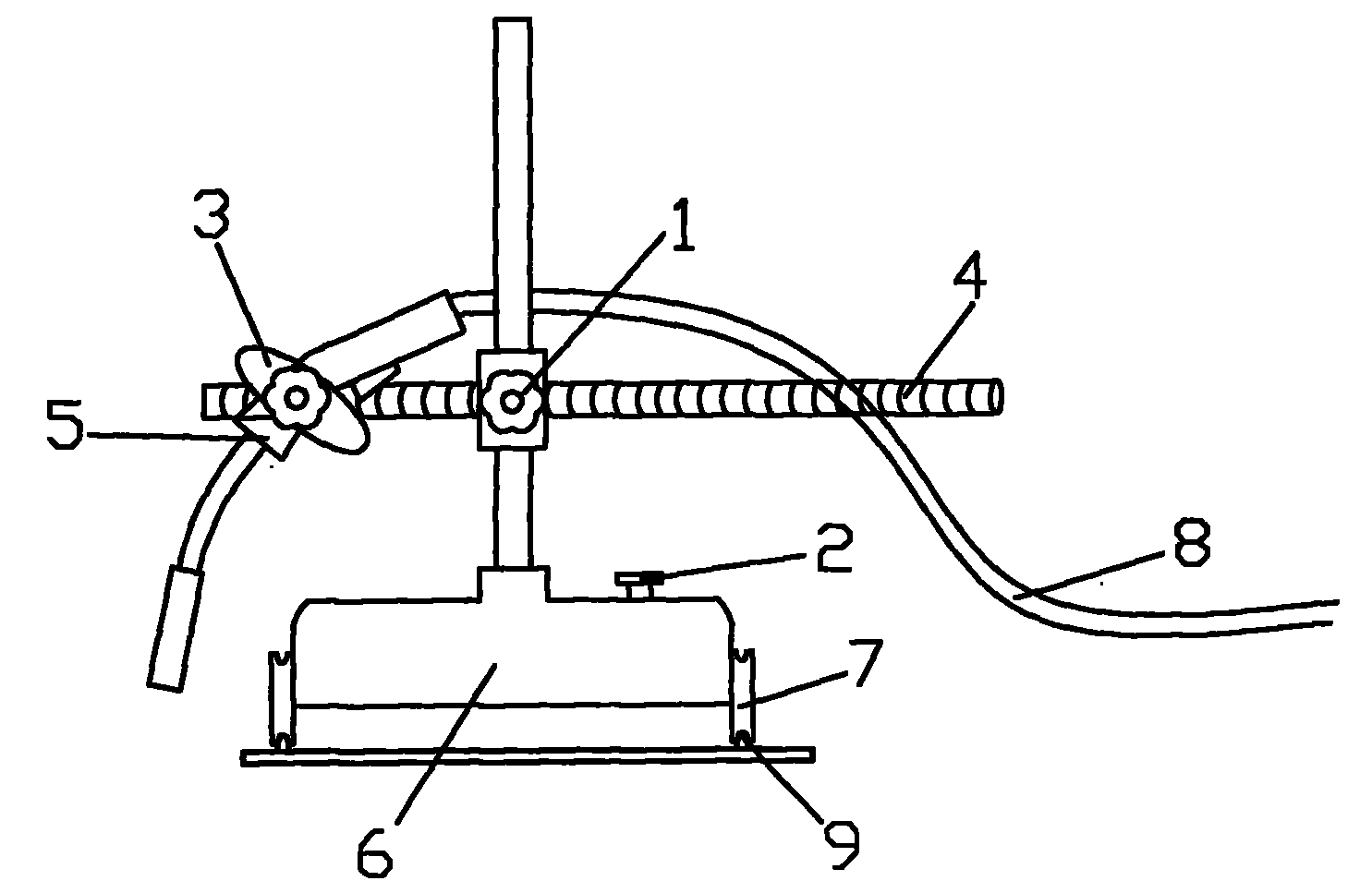
cn201609803u_轨道式自动气保焊机有效
图片尺寸1485x954
本实用新型涉及气保焊机结构技术领域,尤其是一种抗风能力强的气保
图片尺寸723x1000
cn104162753b_一种焊接机有效
图片尺寸1000x814
一种防火花便于移动的电焊机的制作方法
图片尺寸443x381
本实用新型属于气保焊机结构技术领域,尤其涉及一种方便使用的高效
图片尺寸1000x659
一种全数字化多功能双脉冲气保焊机的制作方法
图片尺寸1000x798
大焊气保焊机分体机分体式nbc500二氧化碳气体保护焊二保焊机气保焊机
图片尺寸790x1171
烽火瑞凌二氧化碳气体保护焊机315 350分体一体无气220v/380v两用 nbc
图片尺寸790x832
大焊nbc-270气保焊单用机 二氧化碳气体保护焊二保焊220v 380v
图片尺寸790x643
气体保护电弧焊
图片尺寸744x433
唐山松下气保焊机送丝机 松下各种型号送丝机
图片尺寸594x501
一种一体抽头带水箱气保焊机的制作方法
图片尺寸1000x610