气动剪刀结构图

气动剪刀机构原理动画
图片尺寸1080x810
一种强力气动剪刀-爱企查
图片尺寸799x525
一种气动剪刀-爱企查
图片尺寸1623x765
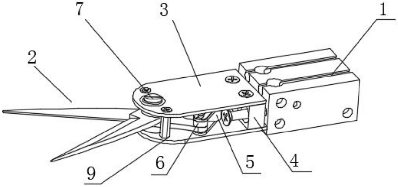
气动剪刀
图片尺寸754x515
180度张开气动剪刀的制作方法
图片尺寸486x351
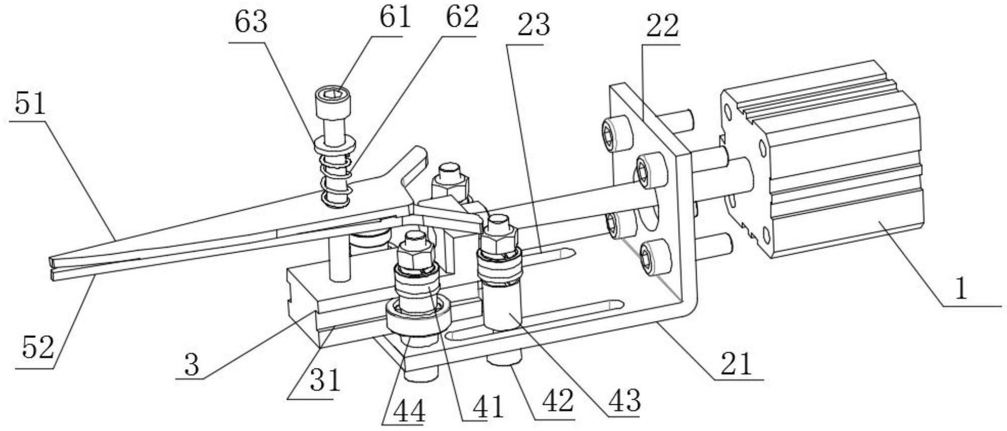
气动剪刀结构
图片尺寸530x297
三种气动剪刀机构设计,使用凸轮槽设计,稳定好用
图片尺寸1472x920
一种气动剪刀的制作方法
图片尺寸868x1000
口罩机用耳绳气动剪刀剪切机构
图片尺寸1961x1100
登士美数腾气动剪刀高速双动kn95机铁线铜丝opt型气剪刀工业气动剪hsp
图片尺寸750x1275
产品测评|你的剪刀真的好用吗?
图片尺寸514x579
cn213647773u_一种可调节的气动剪刀有效
图片尺寸1999x855
一种可复位的气动剪刀的制作方法
图片尺寸443x198
一种气动剪刀的制作方法与工艺
图片尺寸1000x382
一种内部有弹性调节的气动剪刀的制作方法
图片尺寸1000x682
其已成为人们日常生产,生活不可缺少的工具之一,剪刀的结构为两个刀壁
图片尺寸1000x590
一种气动式修枝剪制造技术
图片尺寸1000x863
solidworks模型分享:气动剪刀.#机械设计 #技术分 - 抖音
图片尺寸1079x1919
气动剪刀结构
图片尺寸530x384
cn102615335b_一种气剪刀片结构有效
图片尺寸1000x732