气动剪刀装配图

一种强力气动剪刀-爱企查
图片尺寸799x525
气动剪刀
图片尺寸754x515
一种用于夹剪丝包线和纱包线的气动夹剪刀
图片尺寸1492x2322
气动剪刀结构
图片尺寸530x297
180度张开气动剪刀的制作方法
图片尺寸486x351
口罩机用耳绳气动剪刀剪切机构
图片尺寸1961x1100
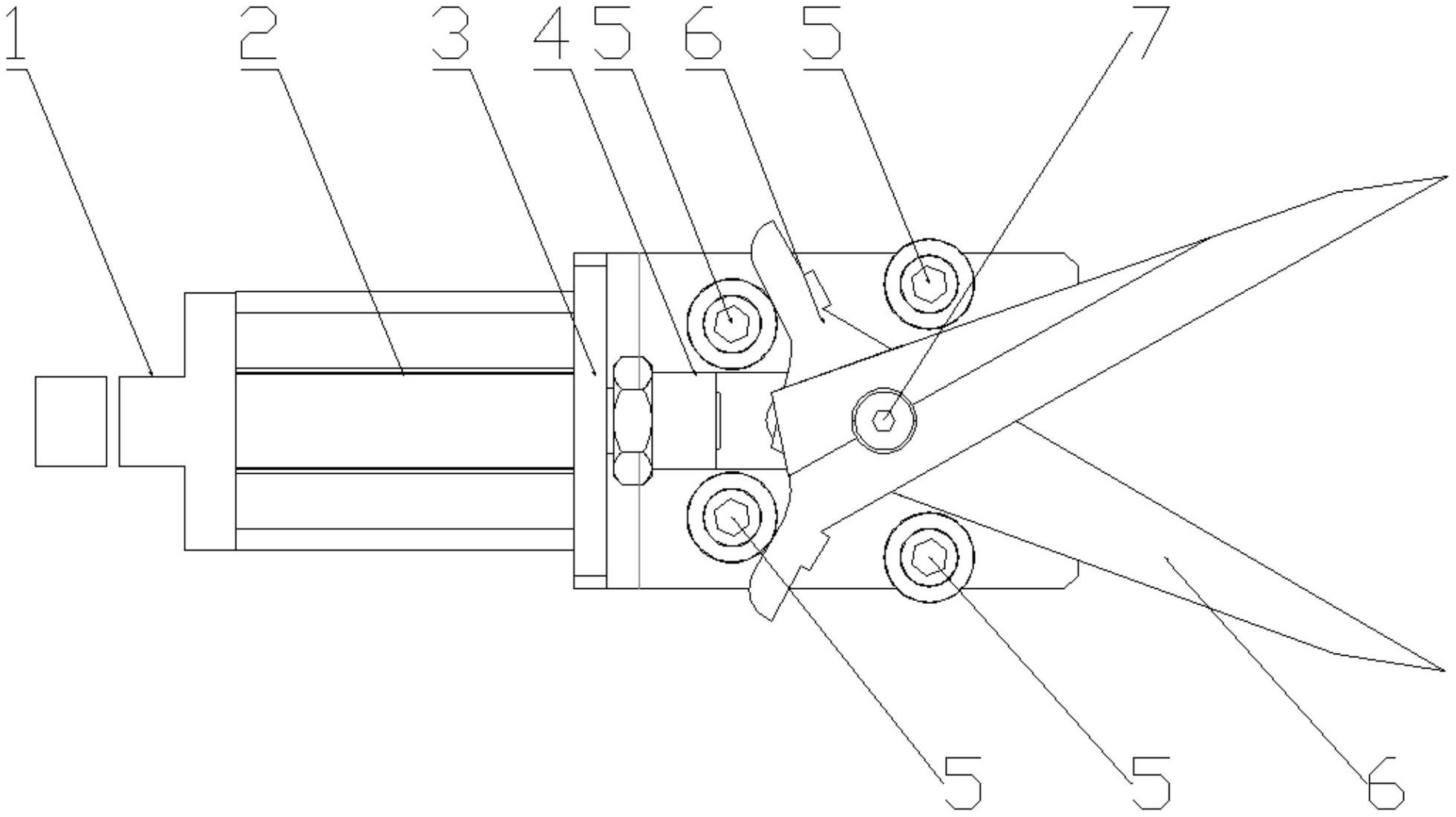
三种气动剪刀机构设计,使用凸轮槽设计,稳定好用
图片尺寸1472x920
一种气动剪刀的制作方法与工艺
图片尺寸1000x382
登士美数腾气动剪刀高速双动kn95机铁线铜丝opt型气剪刀工业气动剪hsp
图片尺寸750x1275
一种可复位的气动剪刀的制作方法
图片尺寸443x198
solidworks模型分享:气动剪刀.#机械设计 #技术分 - 抖音
图片尺寸1079x1919
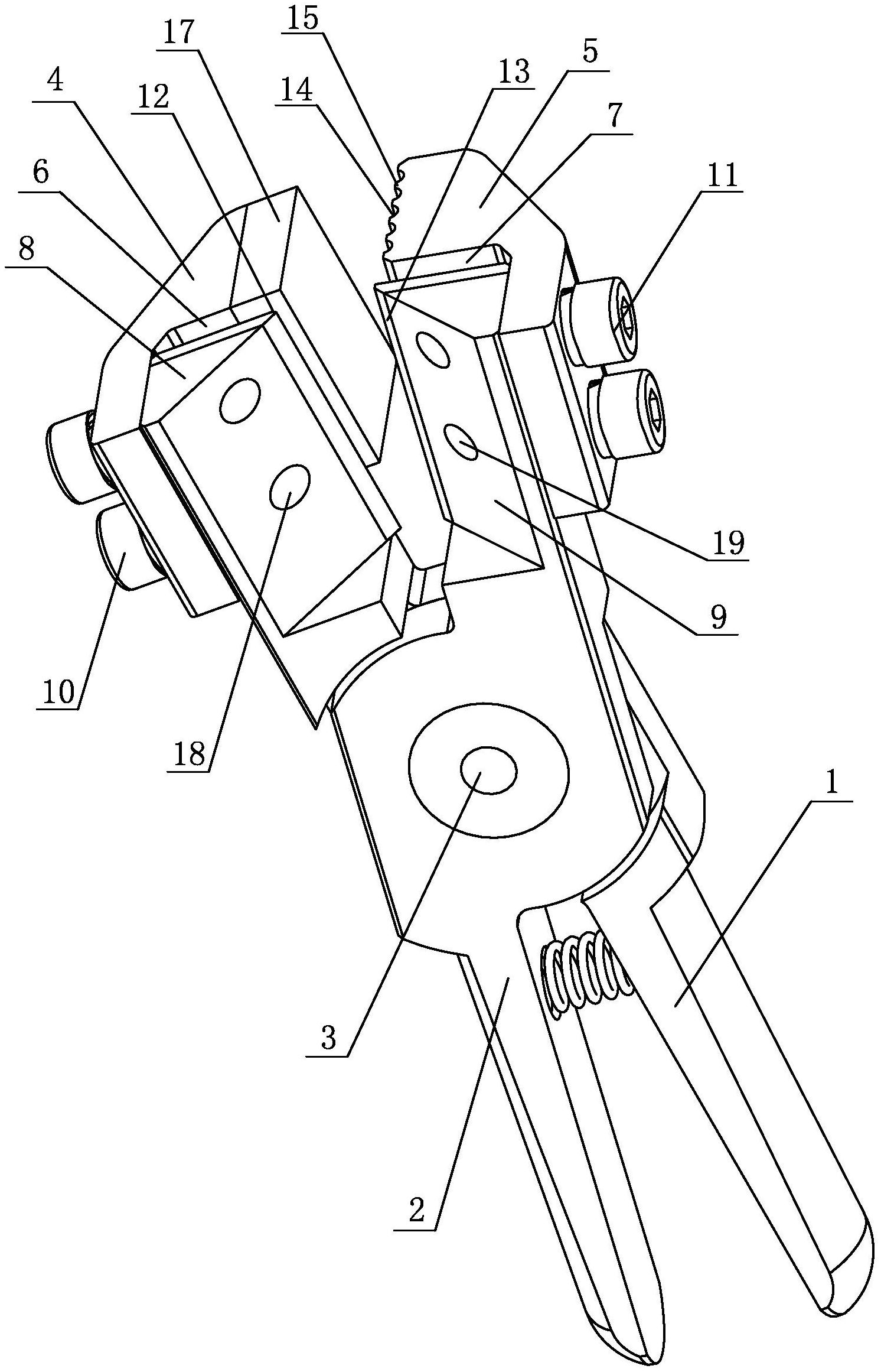
一种口罩耳带机剪刀装置
图片尺寸1773x1674
剪刀凸轮剪刀
图片尺寸1789x1157
气动剪刀机构原理动画
图片尺寸1080x810
一种内部有弹性调节的气动剪刀的制作方法
图片尺寸1000x682
一种新型电动剪刀的制作方法
图片尺寸1000x640
五金工具,电动工具):日本nile气动工具中国一级代理(气动剪刀
图片尺寸200x351
日本利莱nile气动剪刀|msf10
图片尺寸399x279
普通剪刀改气动剪刀
图片尺寸300x225
日本利来 气动剪刀利莱厂家 哪里买气剪头 nile p6 大力剪切刀刃
图片尺寸800x386