气动换挡助力器

适用于三菱8dc9 fv415换挡助力器换挡气推fusomitsubishime670046
图片尺寸1920x1920
供应优质换档助力器(原厂图号)1029215优质换挡助力器厂家供应
图片尺寸900x1600
换挡助力器
图片尺寸902x605
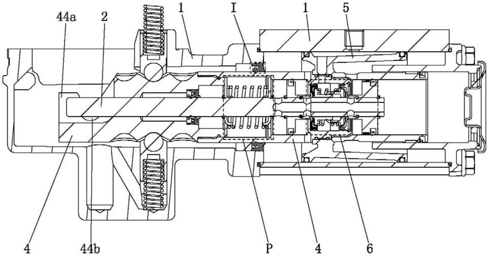
图7); 9,连接离合器助力缸及管路,并连接离合器助力缸与换挡助力
图片尺寸1180x778
气动助力器位置示意图
图片尺寸501x383
行业独有丨中国重汽柔性换挡变速器丝滑换挡
图片尺寸306x209
换挡助力器(图)
图片尺寸844x357
重汽变速箱换挡气动助力器总成 重汽变速箱换挡气缸总成
图片尺寸750x483
法士特借一带一路率先走出去
图片尺寸800x532
ligier js p3 lmp3原型车 - 155,000美元
图片尺寸720x510
厂家批发五十铃isuzu giga重卡配件变速箱换挡助力器
图片尺寸1000x1000
供应换挡助力器me 671397欧系重卡重汽卡车客车配件零部
图片尺寸544x544
气动助力器长 wg2203210410
图片尺寸1224x1632
75格尔发助力器-瑞立16080850160
图片尺寸750x1000
同样都是重卡为什么德龙x5000那么深得卡友欢心
图片尺寸469x331
并且还有各种人性化的配置,如同步器,气动助力,都让换挡更加省力
图片尺寸1200x800
汽车气助力换挡变速器(i)
图片尺寸592x559
cn212360749u_换挡助力器有效
图片尺寸1930x1010
换挡换出麒麟臂?陕汽重卡柔性换挡技术了解下
图片尺寸750x688
换挡塔及助力气缸
图片尺寸600x500