气动涨紧机构

气动膨胀夹紧器
图片尺寸1920x1440
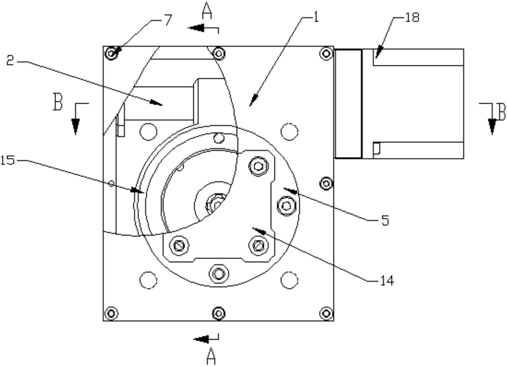
一种气动涨紧机构
图片尺寸1688x1219
zb47 小包,条包金拉线气动涨紧装置
图片尺寸4096x3077
气动涨紧器
图片尺寸832x378
2024最全最细涨紧机构全套教程,逼自己一周学完,solidworks技术猛涨!
图片尺寸1146x717
图片尺寸2084x1544
气动夹紧机构
图片尺寸1920x1080
solidworks涨紧机构零件建模,装配,仿真动画制作全过程!
图片尺寸1442x900
气动夹紧缸汽车自动化生产的高效夹紧解决方案
图片尺寸1000x1000
下料机气动夹紧装置
图片尺寸1480x747
涨紧器 8973285120 vkm79007 适用于chevro.let /isu.zu v6 3
图片尺寸975x975
一种汽车坐垫扭簧自动拧紧机构
图片尺寸1473x1732
气动机械曲柄连杆夹钳夹紧设计二三模型图纸
图片尺寸1920x1080
连杆气动夹紧机构
图片尺寸285x285
brqc-k35-600气动快速锁紧器快换工装取代螺丝生产线快速换型换模
图片尺寸2480x3507
一种功率踏车及功率踏车同步带涨紧机构_同步带
图片尺寸989x1000
涨紧轮机构
图片尺寸285x207
brqc018系列气动快速锁紧器快换工装取代螺丝生产线快速换型换模
图片尺寸2480x3507
b3 气缸压紧机构
图片尺寸285x317
brqckm18200气动快速锁紧器快换工装取代螺丝生产线快速换型
图片尺寸2480x3507