气动转台结构图

数控转台优化设计的分析与实验研究
图片尺寸1316x945
旋转台的两种结构设计
图片尺寸1152x719
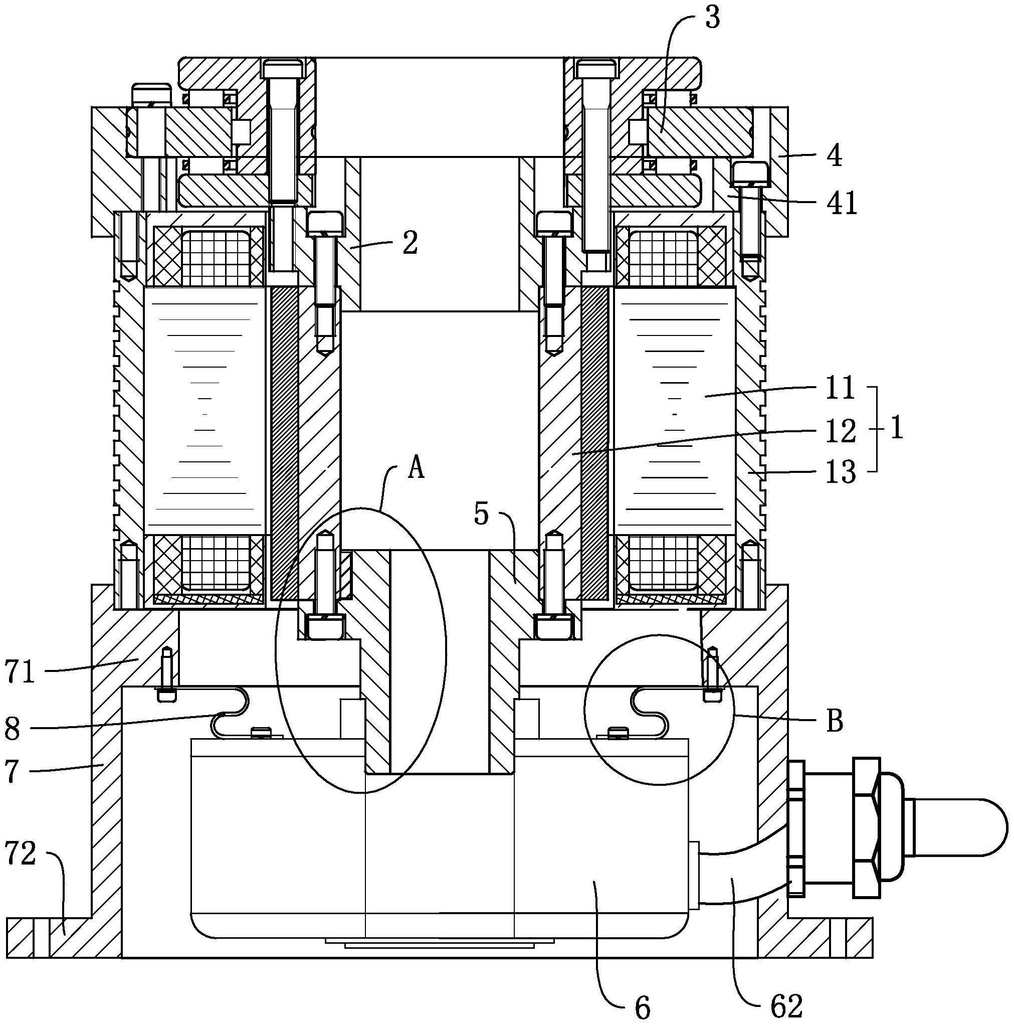
一种气动止转的多功能转台制造技术
图片尺寸1000x689
旋转台的两种结构设计
图片尺寸1152x679
一种狭缝节流气浮转台的制作方法
图片尺寸971x1000
cn201346705y_直驱式双轴精密转台有效
图片尺寸800x501
(4),中心轴(5),水套(6),固定轴(7),耐磨圈(8),连接板(9),气动夹钳(10)
图片尺寸1665x1192
整机优化设计为了解决转台结构紧凑的设计理念与油路加工难度高的矛盾
图片尺寸1222x597
cn212033952u_一种直驱转台有效
图片尺寸2023x2046
一种直驱式精密转台装置专利_专利申请于2021-01-07
图片尺寸1000x714
旋转摆动气缸msqb10a/20a/30a50a齿轮式气动转盘
图片尺寸790x980
一种全自动单轴气浮转台专利_专利申请于2018-05-2
图片尺寸390x261
本发明涉及一种中空式转台,特别涉及一种机床用c轴
图片尺寸1000x594
一种直驱式旋转工作台制造技术
图片尺寸976x1000
卧式精密数控转台
图片尺寸1956x1564
数量逐渐增多,特别是直驱技术的逐渐成熟,采用力矩电机的转台以其结构
图片尺寸654x1000
本发明涉及一种气浮转台属于大型超精密工件的加工
图片尺寸912x1000
一种力矩电机直驱式数控转台专利_专利申请于20171103
图片尺寸1854x1573
一种高速运动转台
图片尺寸1000x825
滚齿凸轮五轴200小转台
图片尺寸814x625