气动隔膜泵 图纸

温州全套qby-50f46衬氟耐腐蚀气动隔膜泵耐酸碱化工输送泵隔膜泵
图片尺寸790x1000
ls25ssaaneppne00现货skylink斯凯力气动隔膜泵
图片尺寸1653x1479
qby不锈钢气动隔膜泵
图片尺寸1000x1451
ls25k,ss-aa-t/s-tt-tt-00 1寸不锈钢气动隔膜泵-上海邦泉泵业制造
图片尺寸795x884
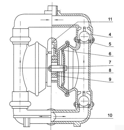
qby气动隔膜泵结构图
图片尺寸430x450
qby1气动隔膜泵
图片尺寸519x363
气动隔膜泵构造图与工作原理 | 说明书网
图片尺寸682x512
qby380铸钢气动隔膜泵
图片尺寸1172x840
cn112228333a_一种高吸程气动隔膜泵在审
图片尺寸1550x1555
cn103925200b_一种气动隔膜泵有效
图片尺寸1000x935
气动隔膜泵
图片尺寸886x568
气动隔膜泵的分解图
图片尺寸511x689
1"铸铁气动隔膜泵
图片尺寸2267x3071
气动隔膜泵-气动隔膜泵品牌厂家-美宝泵业
图片尺寸790x1198
一种高吸程气动隔膜泵的制作方法
图片尺寸804x1000
qby-40气动隔膜泵性能参数|外形尺寸
图片尺寸2339x1654
qby-25工程塑料气动隔膜泵
图片尺寸542x588
气动隔膜泵结构图与工作原理
图片尺寸676x1000
qby-15 不锈钢隔膜泵 气动泵 溶剂泵 胶水泵 油漆泵
图片尺寸823x1024
cn1842652a_隔膜泵失效
图片尺寸2641x1814