气压阀原理图

润丰优质自力式燃气减压阀详解
图片尺寸685x374
减压阀工作原理
图片尺寸500x310
气压制动系的工作原理
图片尺寸1652x918
日本smc增压阀工作原理图
图片尺寸649x537
请问自力式压力调节阀膜头朝下安装吗非常感谢
图片尺寸845x533
气压系统原理图
图片尺寸393x265
调压阀的工作原理基础知识,一文看懂什么是调压阀?
图片尺寸640x380
zzyp自力式压力调节阀工作原理
图片尺寸730x445
减压阀工作原理图
图片尺寸707x453
气动执行机构附件介绍 -减压阀原理(二)
图片尺寸699x468
(一)结构及工作原理1,直动 溢流型(滑 阀式) 作阀在阀芯上的主用 油路
图片尺寸1080x810
rtz50燃气减压阀润丰分析特点
图片尺寸650x423
氧气钢瓶减压阀的工作原理
图片尺寸499x420
国产螺杆空压机进气阀产品详细介绍图示ppt课件ppt
图片尺寸800x600
自力式调节阀工作原理图解.jpg
图片尺寸500x310
关于气瓶减压阀的小问题
图片尺寸394x439
减压阀原理图ppt
图片尺寸1080x810
压力阀和压力控制回路 减压阀的结构及工作原理 j型减压阀 出口压力
图片尺寸1080x810
活塞式减压阀压力调整方法
图片尺寸648x631
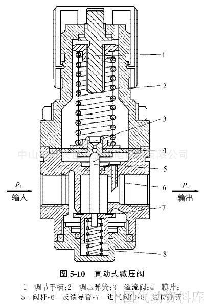
减压阀的工作原理
图片尺寸401x594