气垫船原理图

使用救援气垫船解决复杂环境应急救援
图片尺寸679x341
气垫船原理气垫船的另类应用
图片尺寸877x614
气垫船为什么能腾空飞行
图片尺寸372x280
气垫船原理气垫船的另类应用
图片尺寸841x497
气垫船,是指一种利用表面效应原理,依靠高于大气压的空气在船体与支撑
图片尺寸443x268
气垫船的工作原理是什么?难怪有这么大的军用价值 2
图片尺寸638x479
气垫船原理
图片尺寸1080x1080
气垫船原理及先进制造水平
图片尺寸522x360
背景技术:气垫船,是指一种利用表面效应原理,依靠高于大气压的空气在
图片尺寸1000x638
cn2377157y_环形浮体静态,动态气垫兼有的气垫船失效
图片尺寸925x739
气垫船原理(气垫船原理是船体与水面之间形成了一层)_大全-幸福起航
图片尺寸920x1302
气垫船原理
图片尺寸860x337
气垫船的原理是什么?
图片尺寸550x400
大连港通机电设备有限公司
图片尺寸2262x3276
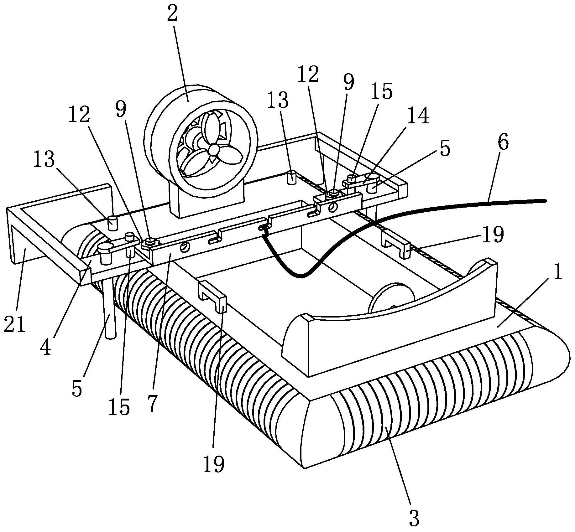
cn110667555b_一种用于滩涂救援的滚塑气垫船及其救援方法
图片尺寸1835x1699
两攻装不下,发动机受阻|登陆舰|气垫船_网易订阅
图片尺寸640x805
cn100455482c_气垫船有效
图片尺寸2480x1836
抢滩登陆解放军两栖登陆最新战法气垫船搭载主战坦克冲上海滩
图片尺寸640x476
一种穿浪型侧壁气垫船的制作方法
图片尺寸1000x477
基于涡流发生器的高速救援全垫升气垫船装备减阻方法与流程
图片尺寸584x1000