气提装置原理图

气提式污水泵布气装置
图片尺寸552x333
一种污泥气提装置的制作方法
图片尺寸858x1000
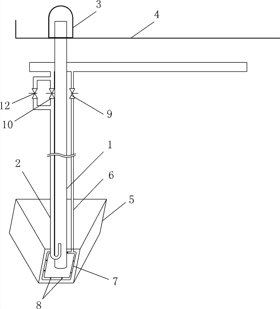
本发明提供了一种用于垃渗滤液液收集提升的气提装置,包括升液部,填埋
图片尺寸1566x1955
气提式污水泵布气装置
图片尺寸521x522
煤气水气提装置的制作方法
图片尺寸1000x923
一种污水处理用气提泵的制作方法
图片尺寸1000x863
空气提升器_空气提升器原理_鑫海矿装
图片尺寸606x677
jv8100气流搅拌气升排泥装置
图片尺寸373x278
背景技术:在污水处理中,气提装置是近几年新兴发展起来的一种低能耗
图片尺寸1000x843
一种改良型污泥气提装置
图片尺寸1000x883
气提式污水泵布气装置.doc 9页
图片尺寸792x1120
汽提气回收装置施工原理图cad
图片尺寸905x641
气提排泥装置厂家_气提排泥装置_扬州三水(查看)
图片尺寸650x478
一种用于msbr池混合液回流的气提装置_cn201920437100.9_知雀网
图片尺寸517x527
汽提气回收装置原理图
图片尺寸263x210
一种用于污水处理系统的气提式排泥装置的制作方法
图片尺寸630x1000
一种污水处理站气提装置的制作方法
图片尺寸829x1000
cn202594403u_一种污泥气提装置有效
图片尺寸906x1000
4—气压表; 5—涡街流量计; 6—进气管; 7—储水筒; 8—气体喷射装置
图片尺寸700x471
旋流沉砂池的气冲,气提装置制造方法及图纸
图片尺寸1000x532