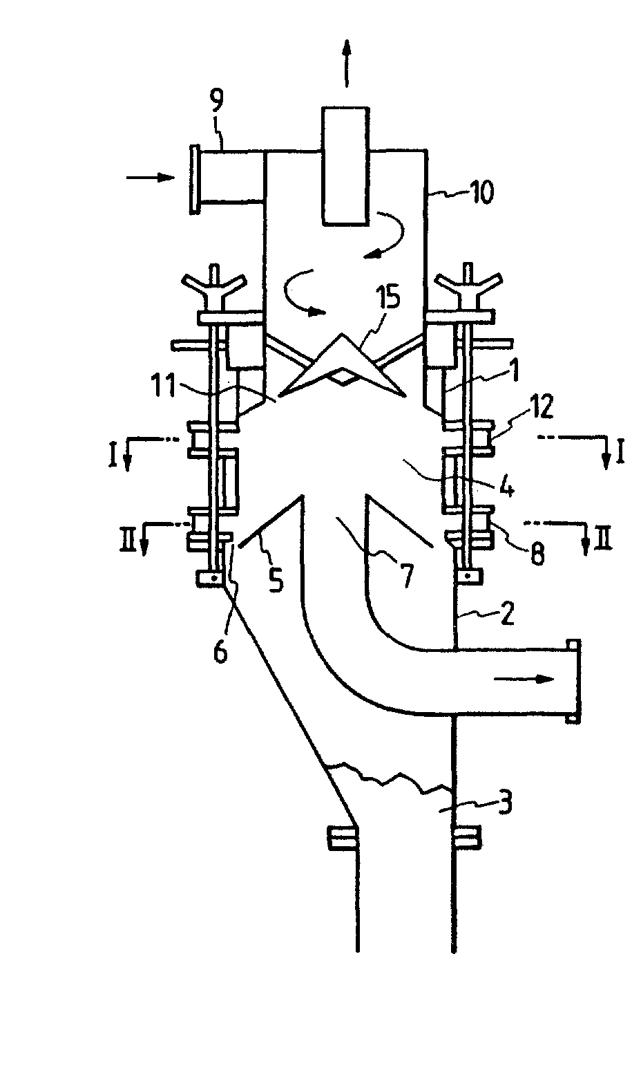
气流分级机机构简图

气流分级机在裂化剂生产中的应用改进管理提升
图片尺寸671x452
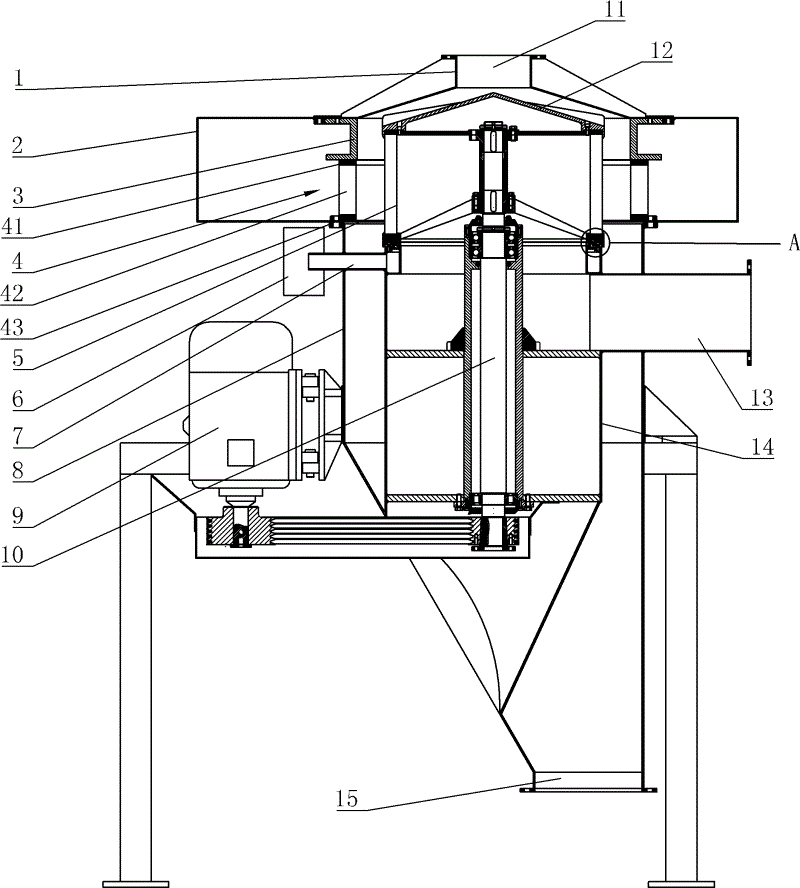
气流分级机
图片尺寸627x811
气流分级机供应商(干货|一文了解12种非金属矿精细分级机)_baike_天天
图片尺寸640x938
一种气流分级机的制作方法
图片尺寸413x443
lhb型涡轮式气流分级机
图片尺寸2161x3745
一种用于烧结刚玉生产的气流分级机
图片尺寸1738x2072
超细超微气流分级机
图片尺寸689x446
一种卧式多头气流分级机的制作方法
图片尺寸717x1000
气流分级机
图片尺寸917x651
气流分级机
图片尺寸928x1568
omc气流分级机
图片尺寸800x443
立式多级气流分级机
图片尺寸800x428
气流分级机
图片尺寸1590x631
小型气流分级机
图片尺寸600x322
一种片状物料气流分级机
图片尺寸589x1000
cn202438465u_气流分级机有效
图片尺寸800x888
fj系列气流分级机
图片尺寸600x250
自动化智能加料流化床气流粉碎分级机
图片尺寸2547x1386
单转子气流分级机
图片尺寸918x652
cn209156414u_一种高效气流分级机
图片尺寸624x1000