气液两相流装置

气液两相流实验装置
图片尺寸2592x1944
汽液两相流实验装置 mhy-17392
图片尺寸457x297
南大万和物化实验仪器fnty2b双液系气液平衡相图实验装置操作说明
图片尺寸1030x643
汽液两相流,气液两相流,气液两相流疏水器,汽液两相流疏水器,生产厂家
图片尺寸3120x3120
气液两相流实验教学装置
图片尺寸933x879
汽液两相流厂家 技术支持 瑞成机械消声器制造 消音器 设计研发
图片尺寸1024x671
jd-qyxl汽液两相流教学实验台_热工类实验装置_上海嘉大科教设备
图片尺寸624x373
气液两相流试验平台
图片尺寸1200x1798
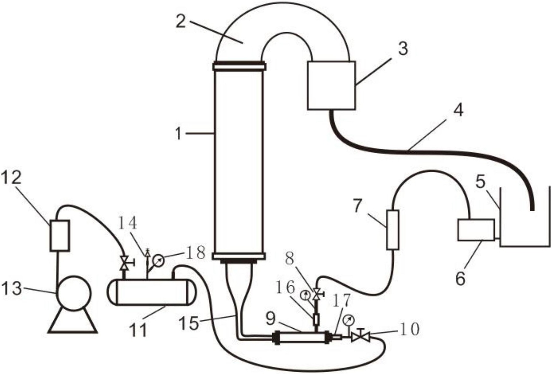
一种垂直管气液两相流流型演示实验装置
图片尺寸1885x1278
汽液两相流疏水控制器疏水器构造及工作原理构造:该装置由传感器
图片尺寸281x334
一,概 述: 新型汽液两相流液位自动调节装置
图片尺寸405x337
汽液两相流
图片尺寸700x700
搅拌鼓泡釜中气液两相流动特性实验装置,搅拌鼓泡釜中气液两相流
图片尺寸434x586
气液两相流装置 不锈钢疏水器 自动控制疏水器 款式多样经久耐用
图片尺寸800x800
汽液两相流_气液两相流装置_汽液两相流疏水器_液位控制器_疏水阀
图片尺寸650x488
2016届九年级化学上册 第6单元 实验活动2 二氧化碳
图片尺寸1080x810
汽液两相流液位控制器|疏水器
图片尺寸554x642
气液两相流疏水阀 气液两相流水位自动控制装置 吉鑫机械生产销售
图片尺寸750x750
多孔介质通道气液两相流型及压降特性研究
图片尺寸1890x1417
气液两相流自动疏水阀 上海汽液两相流自动控制装置 汽液两相流自动
图片尺寸750x750