气缸夹持机构

气缸夹紧机构设计太巧妙了,既然利用连杆的死点自锁
图片尺寸1459x912
尽管有夹爪气缸可以使用,不过这个连杆夹持机构也不赖!
图片尺寸1920x1080
气缸图纸下载_气缸免费图纸,设计模型大全 - 沐风网
图片尺寸285x304
气缸驱动的连杆夹紧机构!
图片尺寸640x360
气缸伸缩夹紧装置 - 包装机械图纸 - 沐风网
图片尺寸300x225
气缸气动(机器人)机械夹手 - 机器人模型图纸 - 沐风网
图片尺寸300x225
气缸夹取模组三维设计 - 液压及气动元件图纸 - 沐风网
图片尺寸820x550
气缸抓手夹持装置图纸下载_零部件模型图纸 - 沐风网
图片尺寸1100x682
气缸式柔性夹爪 - 机器人模型图纸 - 沐风网
图片尺寸820x690
气缸机械手夹取结构三维图纸下载(1.49 mb,rar格式) 三维模型
图片尺寸857x607
连杆气缸夹爪机构 - 零部件模型图纸 - 沐风网
图片尺寸820x673
最近设计一个机械结构,感觉遇到了瓶颈,各位朋友帮我看看是否可行?利
图片尺寸1219x778
气缸夹取机械手下载(1.90 mb,rar格式) 机械cad图纸
图片尺寸1384x798
气缸同步滚轮夹持机构 - 机床附件图纸 - 沐风网
图片尺寸820x586
双气缸毛刷刷胶 - 液压及气动元件图纸 - 沐风网
图片尺寸300x225
单气缸伸缩夹持机构 - 液压及气动元件图纸 - 沐风网
图片尺寸224x654
电子管夹持机构 - 五金工具图纸 - 沐风网
图片尺寸300x225
夹紧气缸设计模型 - 液压及气动元件图纸 - 沐风网
图片尺寸807x731
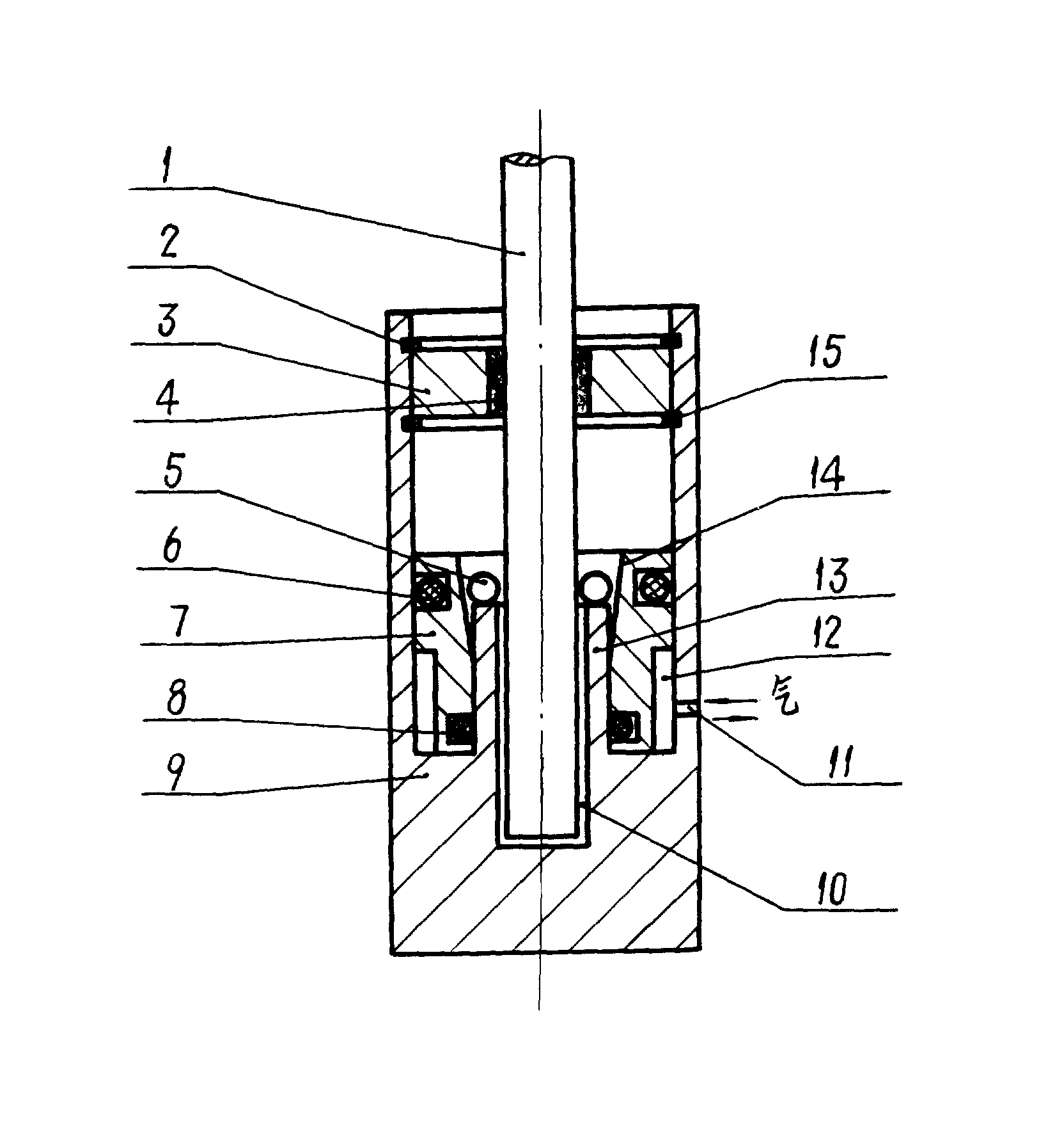
一种气缸式滚珠夹持抬起机构专利_专利申请于1993-04-24_专利查询 -
图片尺寸1664x1792
双气缸夹持机构 - 液压及气动元件图纸 - 沐风网
图片尺寸300x225