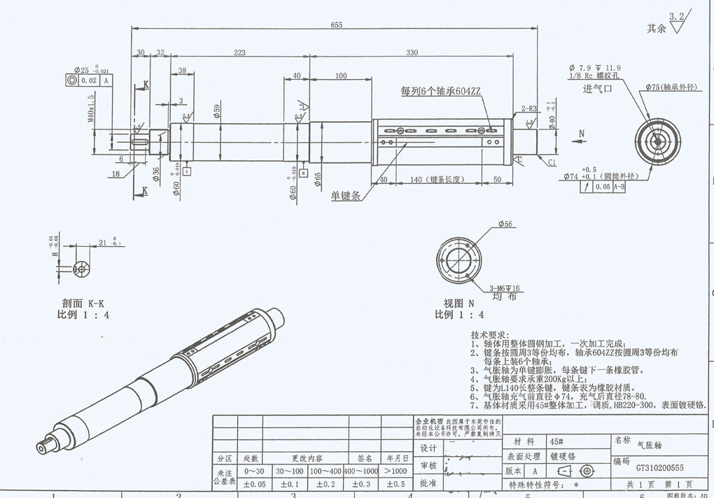
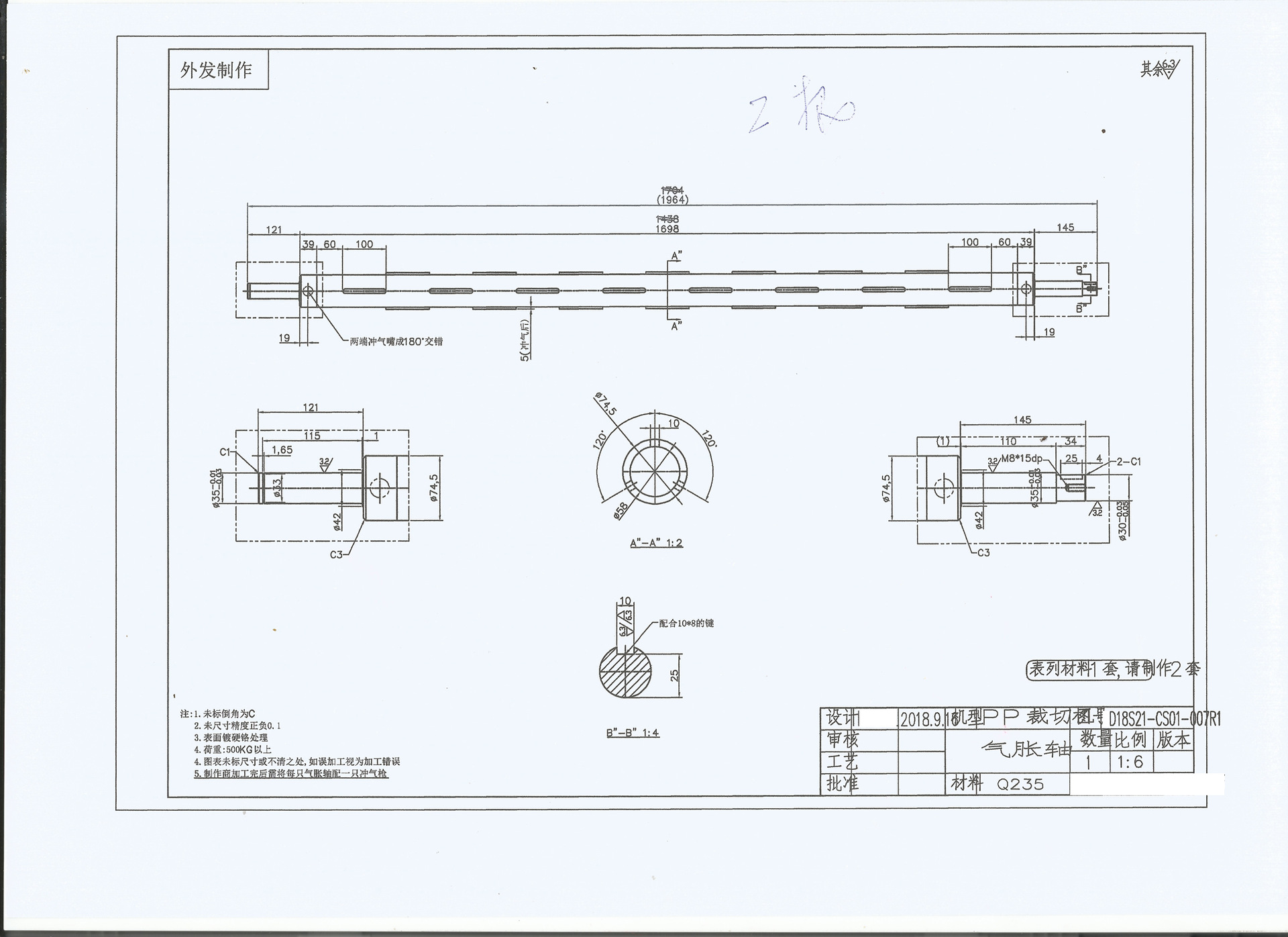
气胀轴图纸

气胀轴非标尺寸,以客户图纸订做;价格详情请咨询 15322807517 云新
图片尺寸1020x712
气胀轴非标尺寸,以客户图纸订做;价格详情请咨询 15322807517 云新
图片尺寸1920x1395
气胀轴非标尺寸,以客户图纸订做;价格详情请咨询 15322807517 云新
图片尺寸923x655
气胀轴
图片尺寸800x576
气胀轴,气涨轴,气胀轴生产商
图片尺寸591x440
可调节气胀轴的制作方法_x技术
图片尺寸995x1000
一种机械式气涨轴的制作方法
图片尺寸518x424
cn210001332u_一种使用寿命长的气涨轴有效
图片尺寸936x1000
气胀轴-爱企查
图片尺寸1805x698
气胀轴的种类
图片尺寸767x578
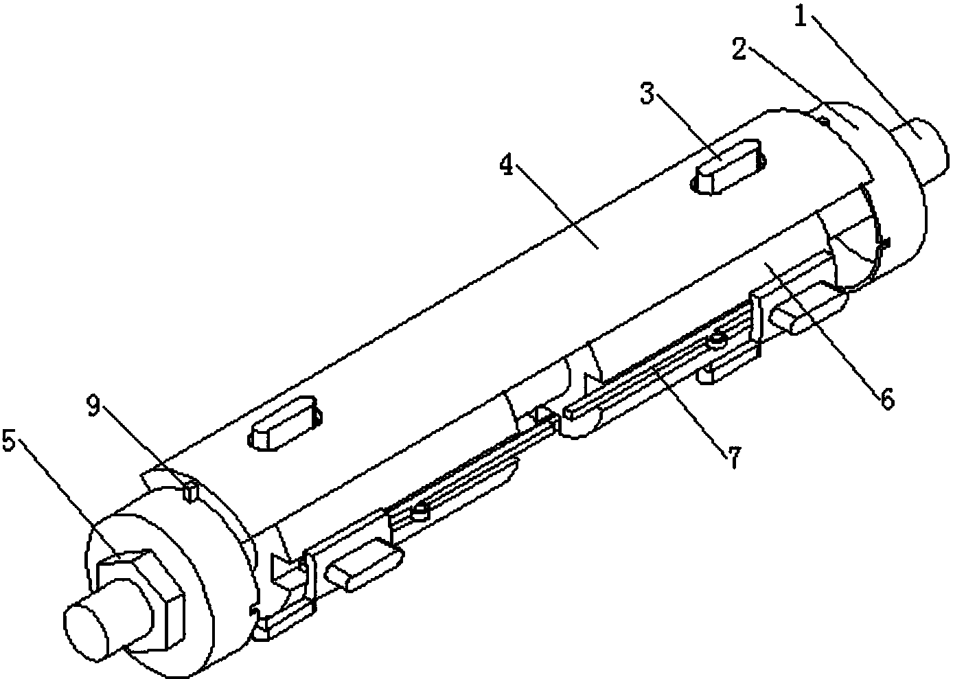
放气后表面部份(指键条)迅速缩回的轴叫做气胀轴
图片尺寸936x1000
一种其上盖板容易打开的机械气胀轴制造技术
图片尺寸1000x717
按压蓄能式机械胀轴的制作方法
图片尺寸719x1000
一种用于高速复卷机收放卷的机械气胀轴
图片尺寸1466x971
一种其上盖板容易打开的机械气胀轴
图片尺寸1388x989
cn207580963u_一种可单人操作的机械膨胀轴有效
图片尺寸1811x907
气胀轴非标尺寸,以客户图纸订做;价格详情请咨询 15322807517 云新
图片尺寸1920x1396
(台森为上市公司配件供应商) 气胀轴非标尺寸,以客户图纸订做
图片尺寸1241x885
3英寸键条式 气胀轴 气涨轴 可定制 越欧机械
图片尺寸443x688
气胀轴图
图片尺寸760x560