气胀轴工作原理

气胀(涨)轴工作原理
图片尺寸610x402
气胀轴的种类-在电机测试行业一路绝尘
图片尺寸767x578
台森专业定制瓦片气胀轴键式气涨轴精湛工艺品质保障交货期快
图片尺寸1020x712
气胀轴的种类-在电机测试行业一路绝尘
图片尺寸815x352
气胀轴原理图
图片尺寸602x416
一种用于高速复卷机收放卷的机械气胀轴
图片尺寸1466x971
气胀轴-爱企查
图片尺寸1805x698
台森专业定制瓦片气胀轴键式气涨轴精湛工艺品质保障交货期快
图片尺寸1920x1395
气胀轴
图片尺寸950x473
键条气胀轴
图片尺寸750x540
放气后表面部份(指键条)迅速缩回的轴叫做气胀轴
图片尺寸936x1000
气胀轴 胀气轴 胀气轴加工 开明机械 气胀轴工厂 非标可以定制
图片尺寸750x1198
一种带滚轮式气胀轴
图片尺寸1665x838
瓦片式气胀轴
图片尺寸720x508
设备的日常维护保养是设备维护的基础工作,必须做到规范化.
图片尺寸1079x636
一种用于涂布机的自动定心气胀轴的制作方法
图片尺寸1000x793
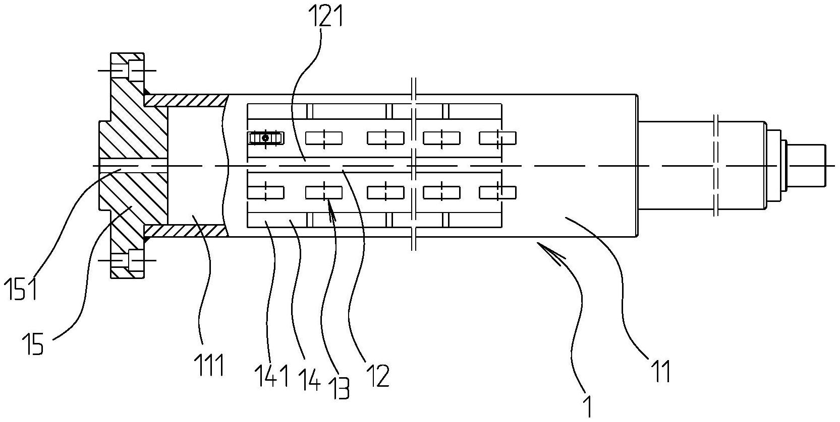
按压蓄能式机械胀轴的制作方法
图片尺寸719x1000
首页 供应产品 供应气胀轴,气胀轴是以空气压缩原理,使轴之外径改变
图片尺寸580x373
可调节气胀轴的制作方法_x技术
图片尺寸995x1000
一种铜箔裁切机用的气胀轴制造技术
图片尺寸1000x720